Search
Home
Watch
Read
Tech
Biz
Game
Life
Contact
Search
Watch
Playlist
Short & Reels
Read
Tech
Biz
Game
Life
Contact
ฝ่ายขาย และการตลาด
085-848-2253
[email protected]
http://m.me/beartai
สมัครงาน/ฝึกงาน ติดต่อได้ที่
[email protected]
บดินทร์ ตันวิเชียร
15/05/2026
Articles 3066
ช่างภาพลองผันตัวเองเป็นนักเขียน
Related Content
พบแสงเลเซอร์สีเขียวปริศนา! ถูกยิงลงมาจากดาวเทียมจีนเหนือน่านฟ้าฮาวาย
13/02/2023
Read More
หลุดภาพแรก Sony FE 50mm F1.4 GM ก่อนเปิดตัว 21 กุมภาพันธ์นี้
13/02/2023
Read More
ลือหนัก! Sony ZV เวอร์ชัน Full frame อาจเปิดตัวในเดือนมีนาคม 2023
09/02/2023
Read More
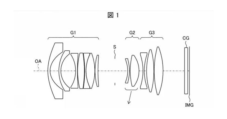
สิทธิบัตรเลนส์ใหม่ TAMRON 13mm F1.8 Di III-A APS-C ถูกใจสายถ่ายดาว
09/02/2023
Read More
เปิดตัว DJI Mini 2 SE โดรนรุ่นเริ่มต้นขนาดเท่าฝ่ามือ ในราคาสุดเป็นมิตร
09/02/2023
Read More
เฟิร์มแวร์ใหม่ SIGMA fp และ fp L เพิ่มโหมดสีใหม่พร้อมฟีเจอร์อีกเพียบ!
09/02/2023
Read More
หลุดข้อมูล Sony FE 50mm F1.4 GM จากเว็บไซต์เยอรมันนี เตรียมเปิดตัว 21 กุมภาพันธ์นี้!
09/02/2023
Read More
เปิดตัว OM System M. Zuiko Digital ED 90mm F3.5 Macro IS PRO เลนส์มาโคร 2x ในระบบ M4/3
08/02/2023
Read More
←
1
…
132
133
134
135
136
…
384
→