Search
Home
Watch
Read
Tech
Biz
Game
Life
Contact
Search
Watch
Playlist
Short & Reels
Read
Tech
Biz
Game
Life
Contact
ฝ่ายขาย และการตลาด
085-848-2253
[email protected]
http://m.me/beartai
สมัครงาน/ฝึกงาน ติดต่อได้ที่
[email protected]
บดินทร์ ตันวิเชียร
14/05/2026
Articles 3066
ช่างภาพลองผันตัวเองเป็นนักเขียน
Related Content
Leica เปิดตัวกล้อง D-Lux 7 รุ่นพิเศษ จับมือแบรนด์ดัง A BATHING APE และ STASH มีเพียง 1,850 ตัวในโลก
20/08/2022
Read More
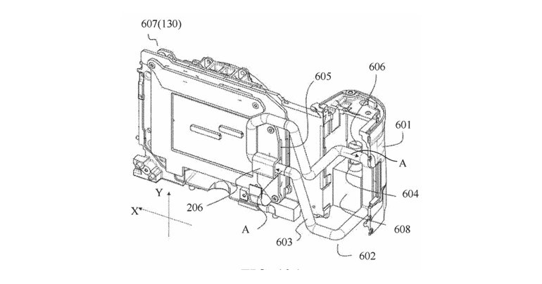
Canon จดสิทธิบัตร Magnetic Liquid Cooling สำหรับระบายความร้อนภายในตัวกล้อง
20/08/2022
Read More
ลือ OM System OM-5 ใช้เซนเซอร์เดียวกับรุ่นพี่ OM-1 เตรียมเปิดตัวเดือนหน้า!
18/08/2022
Read More
TAMRON ประกาศพัฒนาเลนส์ 20-40mm F2.8 Di III VXD เมาท์ Sony E ขนาดตัวกะทัดรัดถูกใจสาย Vlog
18/08/2022
Read More
ลือหนัก Canon RF 300mm F2.8L IS USM เลนส์ Super Telephoto เตรียมเปิดตัวปี 2023
18/08/2022
Read More
หลุด! TAMRON 20-40mm F2.8 Di III VXD ก่อนเปิดตัวสัปดาห์นี้
18/08/2022
Read More
เปิดตัว Yongnuo 85mm F1.8S DF DSM รุ่นอัปเกรด ตีบวก coating กระบอกเลนส์โลหะ
17/08/2022
Read More
บางกว่านี้มีอีกไหม!? กล้องกระดาษหน้าตาหล่อคล้ายกล้อง Leica เซนเซอร์ 16 ล้านพิกเซล
17/08/2022
Read More
←
1
…
174
175
176
177
178
…
384
→