Tags
| Canon RF-Mount
07/12/2023
บดินทร์ ตันวิเชียร | 793 days ago
Canon ปล่อยเฟิร์มแวร์ใหม่ให้กล้อง EOS R 6 รุ่น รองรับเลนส์ใหม่ RF-S 10-18mm F4.5-6.3 IS STM
ค่าย Canon ปล่อยเฟิร์มแวร์อัปเดตให้แก่กล้องมิเรอร์เลสตระกูล EOS R ถึง 6 รุ่นด้วยกันครับ ไม่ว่าจะเป็น EOS R3, R6 II, R7, R8, R10 และ R50 โดยออกมาเพื่อวัตถุประสงค์หลัก ๆ คือ รองรับเลนส์ใหม่ 'RF-S 10-18mm F4.5-6.3 IS STM' นั้นเอง และมี EOS R6 อีก 1 รุ่นที่ออกมาเพื่อแก้ Bug โดยเฉพาะ27/02/2023
Canon EOS R5 Mark II อาจเปิดตัวก่อนกล้องรุ่นเรือธง EOS R1
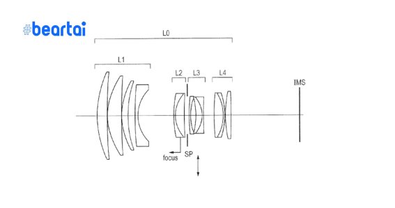
อย่างที่เราทราบกัน Canon ยังเหลือตำแหน่งกล้องฟูลเฟรมมิเรอร์เลสระดับเรือธงอีก 1 ตัวครับ นั้นก็คือ 'EOS R1' แต่ก่อนจะถึงคิวรุ่นนี้ยังมีอีกรุ่นหนึ่งที่ลือว่าจะเปิดตัวก่อนนั้น หรือก็คือ 'EOS R5 Mark II' สาย Hi-Res นั้นเองบดินทร์ ตันวิเชียร | 1076 days ago
Read More08/02/2023
เปิดตัว Canon EOS R8 และ EOS R50 คู่หูกล้อง Full frame, APS-C ระดับเริ่มต้น สเปกจัดหนัก
มาจริงตามนัด Canon เปิดตัวกล้องมิเรอร์เลสระดับเริ่มต้นในตระกูล RF พร้อมกันถึง 2 รุ่นครับ 'Canon EOS R8' Full frame 24.2 ล้านพิกเซลที่ใช้เซนเซอร์เดียวกับรุ่นพี่ EOS R6 Mark II และ 'Canon EOS R50' รุ่นจุติใหม่ของซีรีส์ EOS M50 ยอดฮิตในร่างของเมาท์ RFบดินทร์ ตันวิเชียร | 1095 days ago
Read MorePR Partners
See All06/02/2026
วัทนวิภา ทานะวงศ์ | 1 days ago
Techsauce ผนึกพันธมิตรเปิดตัว “Healthspan Festival 2026” ดันไทยสู่ Hub นวัตกรรมสุขภาพระดับโลก
Techsauce ผู้นำด้านการขับเคลื่อนระบบนิเวศเทคโนโลยีและนวัตกรรม เดินหน้าจัดงานใหญ่รับเทรนด์โลก “Techsauce Healthspan Festival 2026” มหกรรมสร้างอนาคตสุขภาพดีแบบครบวงจรครั้งแรกในไทยมาไว้ในที่เดียว ที่มุ่งเน้นการเปลี่ยนผ่านจากแค่การมีอายุยืน (Lifespan) สู่การมีอายุยืนอย่างมีคุณภาพ (Healthspan) เตรียมพบกับเทคโนโลยีเปลี่ยนโลกและการรวมตัวของบุคลากรทางการแพทย์ ภาคธุรกิจ และนวัตกร ระหว่างวันที่ 27-28 มีนาคม 2569 ณ พารากอน ฮอลล์ ชั้น 5 สยามพารากอน มากกว่าแค่ "อายุยืน" คือการ "แข็งแรงนาน" คุณอรนุช05/02/2026
ทรู คอร์ปอเรชั่น ชูเทคโนโลยี AI คุมเข้มโครงข่าย 5G ทั่วไทย รับมือเลือกตั้ง-ประชามติ 8 ก.พ. นี้ !
กรุงเทพฯ 5 กุมภาพันธ์ 2025 – เพราะทุกคะแนนเสียงคืออนาคต ทรู คอร์ปอเรชั่น จึงประกาศความพร้อมสูงสุด เตรียมส่งมอบประสบการณ์การสื่อสารที่ลื่นไหลระดับ 5G เพื่อสนับสนุนการเลือกตั้ง สส. และการออกเสียงประชามติในวันที่ 8 กุมภาพันธ์ 2569 มั่นใจประชาชนเข้าถึงข้อมูลและรายงานผลได้อย่างฉับไวไร้รอยต่อ ถอดรหัสข้อมูล...สู่การวางแผนที่แม่นยำ ทรูไม่ได้มาพร้อมความพร้อมเพียงอย่างเดียว แต่มาพร้อม "Data" ที่แม่นยำ โดยนำพฤติกรรมการใช้งานจริงจากการเลือกตั้งล่วงหน้า (1 ก.พ.) มาเป็นบทเรียนสำคัญ เพื่อเตรียมรับมือกับช่วงเวลา Peak Hours จัดเต็ม "กองทัพเครือข่าย" เพื่อคนไทย นายคูรัม อัชฟาค และ นายจิระชัย คุณากร สองแม่ทัพใหญ่ด้านเครือข่าย นำทีมวิศวกรลงพื้นที่เช็กสัญญาณด้วยตัวเอง พร้อมมาตรการเสริมทัพที่แข็งแกร่ง ครั้งแรกกับ "เครือข่ายอัจฉริยะ" มาตรฐานโลก ทรูยกระดับการจัดการด้วย Autonomous Network Level 4.0 (จาก TM Forum) โดยใช้เทคโนโลยี Intent-Based Operation…ภูษิต เรืองอุดมกิจ | 2 days ago
Read More03/02/2026
กลับมาอีกครั้ง ! กับงานสัมมนาแห่งปี ‘Future Trends Ahead Summit 2026’
กลับมาสร้างความคึกคักให้กับวงการธุรกิจและการตลาดกันอีกครั้งครับ สำหรับงานสัมมนาที่หลายคนรอคอยอย่าง ‘Future Trends Ahead Summit 2026’ ซึ่งปีนี้กลับมาพร้อมกับโจทย์ที่ท้าทายกว่าเดิม ภายใต้ธีม ‘Thriving Beyond The Storm’ หรือการเตรียมความพร้อมเพื่อพาธุรกิจฝ่าฟันพายุแห่งความเปลี่ยนแปลงที่กำลังก่อตัวขึ้นรอบทิศทาง ไม่ว่าจะเป็นเรื่องเศรษฐกิจ การเมือง เทคโนโลยี AI หรือแม้แต่การตลาดที่พลิกผันไปทุกวินาที ความพิเศษของงานในปีนี้คือการถอดรหัสเนื้อหาอันเข้มข้นมาจากหนังสือ ‘Future Trends Ahead 2026 Presented by FutureSkill’ มาขยายความบนเวทีจริง เพื่อให้ผู้เข้าร่วมงานได้เห็นภาพอนาคตที่ชัดเจนยิ่งขึ้น โดยเป็นการผนึกกำลังครั้งสำคัญของสถาบันวิจัยชั้นนำระดับประเทศและระดับโลกกว่า 14 แห่ง ได้แก่ หอการค้าไทย, สภาอุตสาหกรรมแห่งประเทศไทย, Accenture, InnovestX, Ipsos, TrendWatching และโรงพยาบาลศิริราช ที่มาร่วมกันกลั่นกรองข้อมูลจนได้ออกมาเป็น 12 เทรนด์ประเทศไทย และ 12 เทรนด์ธุรกิจ ที่จะเป็นกุญแจสำคัญให้เรานำไปปรับใช้กับองค์กรได้ทันที ภายในงานวันที่ 10 กุมภาพันธ์นี้ ณ Paragon Hall ชั้น 5…อมลวรรณ ศรัทธานนท์ | 4 days ago
Read More03/02/2026
แจ้งเหตุฉุกเฉิน ! หน่วยกู้ภัย Canva บุก Bangkok Design Week 2026 ปั๊มหัวใจงานดีไซน์ให้ฟื้นคืนชีพ
ใครที่งานออกแบบกำลังเข้าขั้นโคม่า หรือไอเดียกำลังหมดลมหายใจ โปรดทราบ ! "หน่วย Canva กู้ภัยดีไซน์ฉุกเฉิน" (Canva Design Rescue) ได้มาปักหลักกลางงาน Bangkok Design Week 2026 แล้ว ภายใต้ภารกิจสุดเร่งด่วนที่จะเปลี่ยนวิกฤตงานดีไซน์ให้กลายเป็นโอกาส ตามธีมงานปีนี้อย่าง Design S/O/S ลืมภาพบูทแสดงงานทั่วไปไปได้เลย เพราะ Canva ยกขบวนรถกู้ภัยสีสันสะดุดตามาจอดเทียบท่า พร้อมทีมกู้ชีพที่ไม่ได้มาแค่โชว์ แต่มาเพื่อช่วยจริง ๆ ไม่ว่าจะพรีเซนเทชันป่วยใกล้เดดไลน์, เรซูเม่ที่ชีพจรแผ่วเบาเล่าตัวตนไม่ชัด หรือโปสเตอร์ที่ยังขาดความโดดเด่น ทีมงานจะไม่ใช่แค่คนรับจ้างทำ แต่เป็นโคชที่จะแนะวิธีใช้เครื่องมือลับและ AI บน Canva ให้คุณลงมือกู้ชีพงานด้วยตัวเอง จากไฟล์งานที่นอนแน่นิ่ง จะกลับมามีชีวิตชีวา พร้อมคืนความมั่นใจให้เจ้าของงานอีกครั้ง ปฏิบัติการนี้ไม่ได้อยู่แค่ในบูท แต่ Canva จับมือกับ ริทัศน์บางกอก (RTUS-Bangkok) ลงพื้นที่จริง ณ ซอยพระยาสิงหเสนี ย่านหัวลำโพง ด้วยการใช้พลังแห่งดีไซน์พลิกโฉมร้านค้าเก่าแก่กว่า 10 แห่ง ให้กลับมาโมเดิร์นน่าแวะเวียน โดยไม่ทิ้งเสน่ห์ดั้งเดิม เปลี่ยนตรอกที่เคยเงียบเหงา…ภูษิต เรืองอุดมกิจ | 4 days ago
Read More















