Tags
| Digital camera
09/07/2022
บดินทร์ ตันวิเชียร | 1293 days ago
Phase One ปล่อยตัวอย่างกล้องมีเดียมฟอร์แมตซีรีส์ XT รุ่นใหม่ ราคาหลักล้าน!
Phase One แบรนด์กล้องสัญชาติเดนมาร์ก ปล่อยตัวอย่างเตรียมเปิดตัวกล้องมีเดียมฟอร์แมตในซีรีส์ 'XT' รุ่นใหม่ กับวิดีโอความยาว18 วินาที และนี่คือข้อมูลทั้งหมดที่เรารวบรวมมาสำหรับเจ้ากล้องตัวนี้ครับ08/12/2021
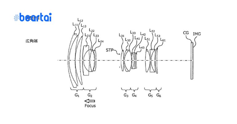
สิทธิบัตรเลนส์ใหม่ Canon 14-280mm F/2.8-5.6 สำหรับเซนเซอร์ 4/3
เผยสิทธิบัตรเลนส์ซูม Canon รุ่นใหม่ '14-280mm F/2.8-5.6' ในรหัส 2021-183997 แต่รอบนี้ไม่ใช่ของกล้องเซนเซอร์ฟูลเฟรมหรือ APS-C เหมือนเช่นเดิม แต่เป็นสำหรับกล้องเซนเซอร์ 4/3 (Canon มีกล้อง 4/3 ด้วย??)บดินทร์ ตันวิเชียร | 1506 days ago
Read More03/11/2021
Panasonic เดินหน้าพัฒนาเซนเซอร์รับภาพ ‘Organic’ เทคโนโลยีพลิกวงการถ่ายภาพในอนาคต!
Panasonic โชว์เทคโนโลยีเซนเซอร์รับภาพแบบ 'Organic Photoconductive Film (OPF) CMOS' ที่มีโครงสร้างแตกต่างจากเซนเซอร์รับภาพที่เราใช้ในปัจจุบัน ให้ความละเอียดสูง, Dynamic Range กว้างขึ้นแบบก้าวกระโดด และยังมาพร้อมกับเทคโนโลยี global shutter ซึ่งนี่อาจจะมาเป็นจุดเปลี่ยนสำคัญของวงการถ่ายภาพในอนาคตบดินทร์ ตันวิเชียร | 1541 days ago
Read More10/08/2021
Canon, Sony ครองตลาดกล้องดิจิทัลกว่า 70% ในปี 2020
สำนักข่าวญี่ปุ่น Nikkei รายงานผลการสำรวจส่วนแบ่งผลิตภัณฑ์ และบริการหลักในปี 2020 ซึ่งในนี้มีรายละเอียดเกี่ยวกับส่วนแบ่งการตลาดของผู้ผลิตกล้องดิจิทัล 5 อันดับแรก รวมไปถึงอันดับผู้ผลิตเซนเซอร์รับภาพอีก 5 อันดับด้วยเช่นกันครับบดินทร์ ตันวิเชียร | 1626 days ago
Read More01/04/2021
SIGMA ประกาศเปลี่ยนตัวแทนในไทย เป็นบริษัท ‘สริชทิ ดิจิไลฟ์ (ประเทศไทย) จำกัด’ ตั้งแต่วันที่ 1 เม.ย. 64
SIGMA Corporation ประกาศแต่งตั้งบริษัท 'สริชทิ ดิจิไลฟ์ (ประเทศไทย) จำกัด' เป็นตัวแทน และจัดจำหน่ายผลิตภัณฑ์ SIGMA ในประเทศไทย โดยมีผลตั้งแต่วันที่ 1 เมษายน 2564 นี้ แทน บริษัท ชีร์โร่ มาร์เก็ตติ้ง (ประเทศไทย) จำกัด เดิมบดินทร์ ตันวิเชียร | 1757 days ago
Read More29/03/2021
เปิดราคาไทย Canon PowerShot ZOOM กล้องดิจิทัลส่องทางไกล ซูมไกลถึง 800mm ที่ 9,990 บาท
แคนนอนประกาศเปิดราคากล้องดิจิทัลส่องทางไกล 'Canon PowerShot ZOOM' ที่มาในขนาดเล็กกะทัดรัด น้ำหนักเบาเพียง 145 กรัม ซูมไกลถึง 3 ระดับ สูงสุดที่ 800mm ถ่ายภาพ และบันทึกวิดีโอระดับ Full HD ได้ง่าย ๆ ในปุ่มเดียว ตอบโจทย์คนรักการทำกิจกรรม กีฬา คอนเสิร์ต ชมไลฟ์สดบนเวที หรือการส่องนก ส่องสัตว์ เก็บภาพในช่วงเวลาสำคัญบดินทร์ ตันวิเชียร | 1760 days ago
Read More23/02/2021
หลุดข้อมูลเลนส์ Pentax ถึง 3 รุ่น 31mm f/1.8, 43mm f/1.9 และ 77mm f/1.8 Limited!
มีข่าวลือ Pentax เตรียมเปิดตัวเลนส์ prime 3 ตัวใหม่ HD Pentax-FA 31mm f/1.8 Limited, HD Pentax-FA 43mm f/1.9 Limited และ Pentax-FA 77mm f/1.8 Limited นอกจากนี้ยังลืออีกว่า Pentax เตรียมเปิดตัวกล้อง K-1 Mark II ในสีใหม่ถึง 4 สี!บดินทร์ ตันวิเชียร | 1794 days ago
Read More17/01/2021
Canon EOS R5 คว้าแชมป์อันดับ 1 กล้องขายดี จาก Yodobashi Camera เดือนธันวาคม 2020
Yodobashi Camera ห้างค้าปลีกเครื่องใช้ไฟฟ้ารายใหญ่อันดับที่ 4 ในประเทศญี่ปุ่น ประกาศ 10 อันดับกล้องขายดีประจำเดือนธันวาคม 2020 ซึ่งแชมป์ตกเป็นของกล้อง Canon รุ่นใหม่สุดร้อนแรง EOS R5 นั้นเองครับบดินทร์ ตันวิเชียร | 1831 days ago
Read More13/01/2021
BCN+R เผย ยอดขายกล้องดิจิทัลในญี่ปุ่นปี 2020 ลดลงกว่า 40% เมื่อเทียบกับปีก่อน
BCN+R รายงานข้อมูลการวิเคราะห์ตลาดกล้องดิจิทัลในญี่ปุ่น เผยยอดขายการซื้อกล้องดิจิทัลทั้งทางออนไลน์ และหน้าร้านของชาวญี่ปุ่นในปี 2020 ลดลง เป็นผลมาจากทั้งตลาดกล้องที่หดตัวบวกกับการระบาดของเชื้อ COVID-19บดินทร์ ตันวิเชียร | 1835 days ago
Read More05/01/2021
Sony เตรียมเปิดตัวกล้องวิดีโอ VX8017 ในงาน CES 2021 ส่วนรุ่นอื่นอาจช้ากว่ากำหนด จากเหตุเพลิงไหม้โรงงาน
เว็บไซต์ Sonyalpha Rumors รายงาน ได้รับข้อมูลของกล้อง Sony ตัวแรกที่จะเปิดตัวในปี 2021 นั้นจะเป็นกล้องถ่ายวิดีโอ VX8017 และจะเปิดตัวช่วงก่อนหรือระหว่างการจัดงาน CES 2021 ครับบดินทร์ ตันวิเชียร | 1843 days ago
Read More27/12/2020
สิทธิบัตรใหม่ กล้อง Canon เปลี่ยนเลนส์ได้ติด Gimbal ที่คล้ายกับตัว DJI OSMO!
พบสิทธิบัตรใหม่ที่น่าสนใจอีกแล้วครับสำหรับฝั่งแคนนอนค่ายหนอนของเรา โดยในรอบนี้เป็นกล้องดิจิทัลเปลี่ยนเลนส์ได้สำหรับสายวิดีโอหรือ Vlog แบบไม้กันสั่น ที่ดู ๆ ไปแล้วก็คล้ายกับ DJI OSMO อยู่เหมือนกันนะ แต่ติดที่ว่าเปลี่ยนเลนส์ได้นี่แหละบดินทร์ ตันวิเชียร | 1852 days ago
Read More08/12/2020
Sony หยุดผลิตกล้องบางรุ่นชั่วคราว จากปัญหาด้าน supply ซึ่งอาจเป็นผลมาจากเหตุเพลิงไหม้โรงงาน
Sony Japan ประกาศกล้องบางรุ่นอาจขาดตลาดเนื่องจากปัญหาด้านการจัดหาชิ้นส่วน ซึ่งอาจเป็นผลมาจากเหตุเพลิงไหม้ทำลายโรงงาน AKM Nobeoka ที่ผลิตชิ้นส่วน LSI ให้กับโซนีไหม้นานกว่าสามวัน ส่งผลกระทบต่อการผลิตกล้องดิจิตอล และอุตสาหกรรมเครื่องเสียงเครื่องใช้ไฟฟ้าบดินทร์ ตันวิเชียร | 1871 days ago
Read More30/11/2020
พื้นฐานการดู Histogram ของดีสำหรับช่างภาพถ้าใช้เป็น!
เคยไหมครับบางครั้งที่เราถ่ายภาพมาแล้วรู้สึกว่าภาพสว่างหรือมืดไปบ้าง ทั้ง ๆ ที่เราคิดว่าวัดแสงมาพอดีแล้ว อาจจะเพราะมองจอ LCD ขณะถ่ายแล้วโดนแสงรอบตัวหลอกตา หรือเพราะปัจจัยอื่น ๆ พอจะเอาภาพไปทำต่อในโปรแกรมก็กลายเป็นว่าส่วนที่สว่างเกินไปนั้นพอลดความสว่างลงแล้ว รายละเอียดข้อมูลในส่วนนั้นกลับหายไปอีก วันนี้เราจะมาแนะนำวิธีการดู Histogram ขณะถ่ายภาพ เพื่อให้ไฟล์ภาพของเราเก็บข้อมูลมาแบบครบ ๆ ทำต่อง่ายที่สุดครับบดินทร์ ตันวิเชียร | 1879 days ago
Read More05/11/2020
รวม 6 สิ่งที่ทำให้กล้องของคุณพังโดยที่ไม่รู้ตัว
หลังจากห่างหายกันไปนานกับบทความถ่ายภาพ วันนี้เราจะมาพูดถึง 6 สิ่งที่ทำให้กล้องของคุณพังโดยที่อาจจะไม่รู้ตัวกันครับ โดยแต่ละอย่างที่เราคัดมานั้นอาจจะเป็นเรื่องใกล้ตัวที่เราอาจจะคาดไม่ถึงมาก่อนก็ได้ มาดูกันครับว่าแต่ละสาเหตุมีอะไรกันบ้าง กันไว้ก่อนดีกว่าเสียเงินทีหลังนะครับ~บดินทร์ ตันวิเชียร | 1904 days ago
Read More01/11/2020
เปิดตัว 7artisans 18mm f/6.3 cap lens ตัวจิ๋วสำหรับกล้องมิเรอร์เลส APS-C
7artisans แบรนด์ผู้ผลิตเลนส์จากประเทศจีนเปิดตัวเลนส์มุมกว้าง 18mm f/6.3 cap lens ที่เรียกได้ว่ามีขนาดใกล้เคียงกับฝาปิดเลนส์กันเลยทีเดียว โดยออกแบบมาสำหรับกล้องมิเรอร์เลส APS-C เมาท์ Canon EF-M, Fujifilm X, Micro Four Thirds และ Sony E-mountบดินทร์ ตันวิเชียร | 1908 days ago
Read More30/10/2020
พบ Sony จดทะเบียนกล้องรุ่นใหม่ คาดอาจจะเป็นซีรีส์ RX
พบ Sony จดทะเบียนกล้องใหม่ในรหัส “WW186333“ และน่าจะไม่ใช่กล้องในซีรีส์ A7 หรือ A9 แน่ ๆ เพราะกล้องตัวนี้ระบุ Wi-Fi ว่ามีแค่ 2.4 Ghz เท่านั้น ไม่ได้ใส่ 5Ghz มาด้วยแบบกล้องรุ่นโปร ซึ่งอาจจะเป็นกล้องในซีรีส์ RX หรือกล้องมิเรอร์เลส E-mount ระดับเริ่มต้นก็เป็นได้ครับบดินทร์ ตันวิเชียร | 1910 days ago
Read More22/10/2020
Manfrotto เปิดตัวแบตเตอรีพร้อมแท่นชาร์จ “Pro CUBE” ที่ชาร์จได้ทั้งแบตเตอรีกล้องและถ่านชาร์จ
Manfrotto เปิดตัวแบตเตอรีสำหรับกล้อง Canon, Nikon และแท่นชาร์จ "ProCUB" ที่ชาร์จแบตเตอรีกล้องได้ถึง 2 ก้อนพร้อมกัน และยังสามารถใช้เป็นแท่นชาร์จถ่านไซส์ AA ได้ถึง 4 ก้อน โดยมีทั้งเวอร์ชันสำหรับแบตเตอรี่กล้อง Canon, Nikon และ Sonyบดินทร์ ตันวิเชียร | 1918 days ago
Read MorePR Partners
See All17/01/2026
ภูษิต เรืองอุดมกิจ | 5 days ago
มุมมองผู้นำยุคใหม่ของ “ศุภชัย เจียรวนนท์” เมื่อการเติบโตของธุรกิจ ต้องตอบโจทย์ระดับประเทศ
ในบริบทที่เศรษฐกิจโลกผันผวน เทคโนโลยีเปลี่ยนแปลงอย่างรวดเร็ว และการแข่งขันขยายสู่ระดับโลก บทบาทของผู้นำองค์กรในวันนี้จึงไม่ได้จำกัดอยู่เพียงการขับเคลื่อนการเติบโตของธุรกิจ หากแต่เชื่อมโยงกับการมีส่วนร่วมในการเสริมสร้างศักยภาพการพัฒนาประเทศในระยะยาว หนึ่งในบุคคลที่ถูกจับตามองในฐานะผู้นำภาคเอกชนที่เข้ามามีบทบาทต่อโจทย์ระดับประเทศ คือ ศุภชัย เจียรวนนท์ ประธานคณะผู้บริหารเครือเจริญโภคภัณฑ์ ผู้ซึ่งมองบทบาทขององค์กรธุรกิจไกลกว่าการสร้างผลประกอบการ แต่คือการเป็นอีกหนึ่งแรงสำคัญในการวางรากฐานเชิงโครงสร้างให้กับประเทศในระยะยาว จากโจทย์ยากของประเทศ สู่การลงมือทำของภาคเอกชน แนวคิดสำคัญที่สะท้อนผ่านการขับเคลื่อนของคุณศุภชัย คือ หากประเทศไทยต้องการเติบโตในเศรษฐกิจยุคใหม่ โครงสร้างพื้นฐานด้านดิจิทัลต้องแข็งแรงก่อนเป็นอันดับแรก ภายใต้วิสัยทัศน์นี้ กลุ่มทรู ซึ่งอยู่ภายใต้เครือซีพี จึงไม่ได้จำกัดบทบาทไว้เพียงผู้ให้บริการเครือข่าย แต่ขยายสู่การวาง Telecom Infrastructure แบบครบวงจร ตั้งแต่การปูพรม 5G ไปจนถึงการยกระดับ True15/01/2026
ศุภชัย เจียรวนนท์ วางรากฐานดิจิทัล-การเงิน-สตาร์ทอัพ ยกระดับคนไทยสู่อนาคตยั่งยืน
ในยุคที่โลกเผชิญความผันผวนจากเทคโนโลยี การเปลี่ยนแปลงทางเศรษฐกิจ และความท้าทายด้านสิ่งแวดล้อม “ภาวะผู้นำ” ถูกนิยามใหม่ว่าไม่ได้วัดเพียงความสำเร็จขององค์กร แต่สะท้อนจากความสามารถในการสร้างการเปลี่ยนแปลงเชิงระบบที่ส่งผลต่อประเทศและผู้คนในวงกว้าง นายศุภชัย เจียรวนนท์ ประธานคณะผู้บริหาร เครือเจริญโภคภัณฑ์ (ซีพี) ได้รับการยอมรับในฐานะ ผู้นำแห่งการเปลี่ยนแปลง (Transformational Leader) ที่ขับเคลื่อนประเทศไทยสู่อนาคต ผ่านการวางรากฐานเศรษฐกิจดิจิทัล การขยายโอกาสด้านการเงินดิจิทัล การสร้างระบบนิเวศสตาร์ทอัพ ตลอดจนการลงทุนด้านการศึกษาและความยั่งยืนอย่างเป็นรูปธรรม วางรากฐานเศรษฐกิจดิจิทัลไทย ตั้งแต่ยุค 3G หนึ่งในจุดเปลี่ยนสำคัญที่ทำให้ประเทศไทยก้าวสู่ยุคดิจิทัลอย่างเป็นรูปธรรม คือการพัฒนาโครงสร้างพื้นฐานด้านโทรคมนาคม โดยเฉพาะการบุกเบิก เทคโนโลยี 3G ซึ่งมีบทบาทมากกว่าการเพิ่มความเร็วสัญญาณมือถือ แต่เป็นการสร้าง “ฐานเศรษฐกิจใหม่” ที่ทำให้บริการออนไลน์ การเรียนรู้ และการทำธุรกิจดิจิทัลเกิดขึ้นได้จริงในวงกว้าง เชื่อมโยงผู้คนและผู้ประกอบการไทยสู่โอกาสใหม่ในระบบเศรษฐกิจโลก ขยายโอกาสการเงินดิจิทัล ตั้งแต่ Wallet รายแรกของประเทศ สู่ก้าวใหม่ระบบการเงินยุคดิจิทัล ในโลกยุคใหม่ การเข้าถึงบริการทางการเงินกลายเป็นกุญแจสำคัญในการยกระดับคุณภาพชีวิตของประชาชนและเสริมศักยภาพผู้ประกอบการรายย่อย โดยนายศุภชัยมีบทบาทสำคัญในการผลักดัน Wallet รายแรกของประเทศไทย ผ่าน TrueMoney ซึ่งเป็นจุดเริ่มต้นของการเงินดิจิทัลที่ทำให้การเข้าถึงบริการทางการเงินสะดวกและครอบคลุมมากขึ้น พร้อมกันนี้ การมีส่วนร่วมในการขับเคลื่อนระบบการเงินยุคใหม่ผ่าน Virtual Bank ถือเป็นอีกก้าวสำคัญในการยกระดับนวัตกรรม เพิ่มการแข่งขัน และทำให้ระบบการเงินไทยตอบโจทย์อนาคตได้อย่างมีประสิทธิภาพ…อมลวรรณ ศรัทธานนท์ | 7 days ago
Read More15/01/2026
ซีพี ปั้นนวัตกรใหม่ เปิดเวที “CP Exponential Surge ปี 2” ดันไอเดียพนักงานสู่ธุรกิจจริง ตั้งเป้าสร้างแบรนด์ไทยผสู่เวทีโลก
เครือเจริญโภคภัณฑ์ (ซีพี) เดินหน้าโครงการ CP Exponential Surge ปีที่ 2 เวทีประลองไอเดียสุดเข้มข้นที่เปิดโอกาสให้พนักงานซีพีทั่วโลกได้ปลดปล่อยความคิดสร้างสรรค์ เฟ้นหาโซลูชันธุรกิจใหม่ที่ตอบโจทย์โลกอนาคต ภายใต้แนวคิดการเติบโตแบบก้าวกระโดด (Exponential Growth) โดยนำค่านิยมองค์กร ทั้งการยอมรับการเปลี่ยนแปลงและการสร้างสรรค์สิ่งใหม่ มาเป็นหัวใจสำคัญในการขับเคลื่อน ปีนี้มีพนักงานให้ความสนใจอย่างล้นหลาม ส่งผลงานเข้าประกวดถึง 1,476 โครงการ จากหลากหลายกลุ่มธุรกิจ อาทิ ซีพีเอฟ, ซีพี ออลล์, ซีพี แอ็กซ์ตร้า, ทรู และกลุ่มธุรกิจพืชครบวงจร ฯลฯ ผ่านการคัดเลือกอย่างดุเดือดจนเหลือ 8 ทีมสุดท้าย เข้าสู่รอบ Final Pitching ณ สถาบันผู้นำเครือเจริญโภคภัณฑ์ จ.นครราชสีมา โดยมี นายธนินท์ เจียรวนนท์ ประธานอาวุโส, ดร.อาชว์ เตาลานนท์ รองประธานอาวุโส และ นายสุภกิต เจียรวนนท์ ประธานกรรมการ พร้อมคณะผู้บริหาร ร่วมรับฟังและให้คำแนะนำเพื่อต่อยอดสู่ธุรกิจจริง นายสุภกิต เจียรวนนท์ ประธานกรรมการ…อมลวรรณ ศรัทธานนท์ | 7 days ago
Read More13/01/2026
ปักธง The Gateway to Isan บุกโคราช ปั้นผู้ประกอบการรุ่นใหม่ “Techsauce Next Entrepreneur’s Summit”
Techsauce ผู้นำการสร้างระบบนิเวศทางเทคโนโลยี ระดับแนวหน้าของเอเชียตะวันออกเฉียงใต้ร่วมกับพันธมิตรได้แก่ หอการค้าจังหวัดนครราชสีมา สำนักงานส่งเสริมการจัดประชุมและนิทรรศการ (องค์การมหาชน) หรือ ทีเส็บ ประกาศเดินหน้าขยายอาณาจักรความรู้และเครือข่ายธุรกิจสู่ระดับภูมิภาค ประเดิมที่จังหวัดนครราชสีมากับงาน “Techsauce Next Entrepreneur’s Summit” ภายใต้คอนเซปต์ “The Gateway to Isan” มหกรรมครั้งยิ่งใหญ่ที่ออกแบบมาเพื่อปลุกพลังและเสริมอาวุธให้ผู้ประกอบการรุ่นใหม่ก้าวสู่โลกธุรกิจยุคใหม่ด้วยเทคโนโลยีและนวัตกรรม การบุกโคราชในครั้งนี้ถือเป็นจุดยุทธศาสตร์สำคัญ เนื่องจากจังหวัดนครราชสีมาไม่ได้เป็นเพียงประตูทางภูมิศาสตร์สู่ภาคอีสานเท่านั้น แต่ยังมีศักยภาพที่จะกลายเป็น ‘Silicon Valley แห่งใหม่’ และ ‘เมืองแห่ง AI’ ด้วยฐานอุตสาหกรรมที่แข็งแกร่งและกลุ่มคนรุ่นใหม่ที่มีพลังสร้างสรรค์ วิสัยทัศน์ "The Gateway to Isan" และการยกระดับเศรษฐกิจภูมิภาค งานในครั้งนี้จัดขึ้นด้วยวิสัยทัศน์ในการ "ปลดล็อกศักยภาพเศรษฐกิจอีสานด้วยเทคโนโลยี" โดยมุ่งหวังให้โคราชเป็นโมเดลต้นแบบของเมืองเศรษฐกิจใหม่ที่ขับเคลื่อนด้วยนวัตกรรม (Innovation-driven Economy) มุ่งเน้นการยกระดับ "ระบบนิเวศผู้ประกอบการ" (Entrepreneurial Ecosystem) ให้แข็งแกร่ง รองรับการเติบโตสู่การเป็น "Silicon Valley แห่งใหม่" และ "AI City" ของประเทศไทย คุณอรนุช เลิศสุวรรณกิจ…วัทนวิภา ทานะวงศ์ | 9 days ago
Read More






























