Tags
| Nintendo
07/02/2025
วงศกร ปฐมชัยวัฒน์ | 433 days ago
เผยภาพสิทธิบัตร Joy-con ที่ใช้แทนเมาส์ของ Nintendo Switch 2
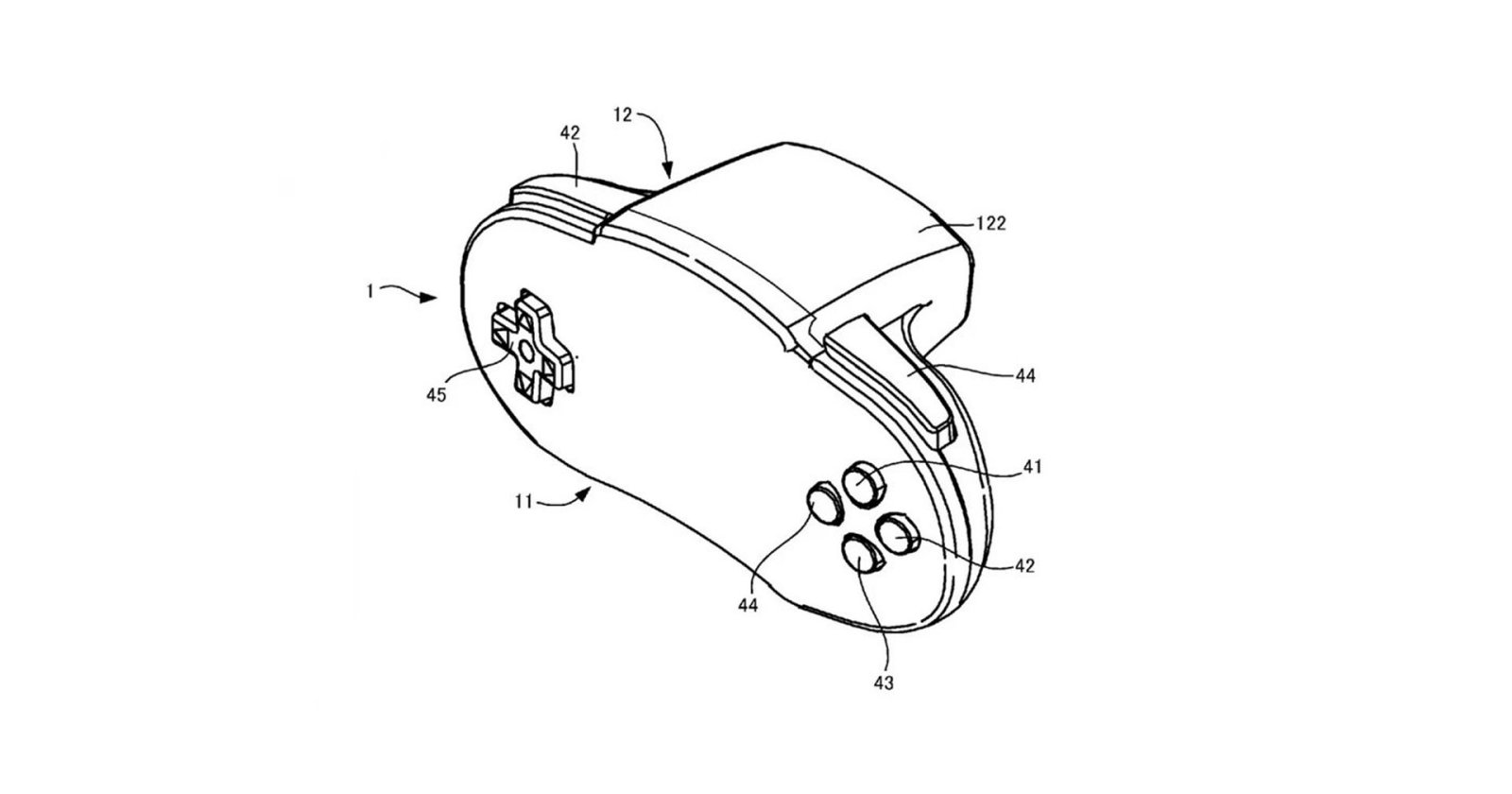
Nintendo Switch 2 หนึ่งในเครื่องเกมคอนโซลลูกผสมรุ่นใหม่ของปู่นิน ที่เพิ่งจะปล่อยตัวอย่างแรกออกไป แม้จะยังไม่มีข้อมูลอะไรออกมามากนัก แต่ในคลิปแรกที่เปิดตัวมีผู้สังเกตว่า Joy-con ของ Nintendo Switch 2 จะสามารถใช้แทนเมาส์ได้ ทำให้ผู้เล่นบังคับตัวละครได้แบบเดียวกับเกมที่เล่นบน PC และล่าสุดมีการเปิดสิทธิบัตรของการใช้ Joy-con แทนเมาส์ของ Nintendo Switch 2 ออกมาให้ชมก็เป็นไปตามที่แฟนเกมคาด ที่ผู้เล่นต้องวาง Joy-con ด้านข้างลงกับพื้นหรือโต๊ะ แล้วจะสามารถบังคับตัวละครในเกมได้เพราะมีเซ็นเซอร์อยู่ และในภาพสิทธิบัตรมีการใช้ร่วมกับปุ่มกดด้วย นอกจากจะสามารถใช้ปุ่ม Zl และ Zr เพื่อบังคับแล้วยังใช้ร่วมกับปุ่มแอนะล็อกได้ด้วย ถือว่าเป็นทางเลือกให้ผู้สร้างออกแบบการบังคับใหม่ ๆ ให้กับเกมได้หลากหลายมากขึ้นกว่าเดิม และยังสามารถใช้ Joy-con 2 อันพร้อมกัยได้ด้วย ปิดท้ายกับภาพในสิทธิบัตรยังมีการโชว์ภาพจอยเกมอีกแบบที่ไม่ใช่ Joy-con ด้วย ก็ไม่รู้ว่าเป็นรูปแบบที่ปู่นินไม่นำไปใช้หรือว่าเป็นจอยอีกแบบที่เตรียมจะวางขายในอนาคต ส่วนข้อมูลเพิ่มเติมของคอนโซล Nintendo Switch 2 จะเปิดตัวแบบเต็ม ๆ ในวันที่ 2 เมษายน 2025 ในงาน Nintendo…10/02/2022
Metroid Dread มีอัปเดต เพิ่ม 2 โหมดใหม่
แฟน Metroid Dread มีเฮ เมื่อ Nintendo มีอัปเดตให้กับเกมนี้ด้วย จะมี 2 โหมดเข้ามาเพิ่ม เป็นโหมดที่แตกต่างกันโดยสิ้นเชิง Metroid Dread มีฟรีอัปเดตเข้ามาในตัวเกม มี 2 โหมดเข้ามาเพิ่มเติม สำหรับใครที่อยากจะหาความท้าทายความหัวร้อน โหมด Dread ยินดีต้อนรับ โหมดนี้เพียงแค่โดนศัตรูโจมตีเพียงครั้งเดียว เกมจบทันที One Hit Kill และอีกโหมดสำหรับคนที่เล่นเกมไม่เก่ง โหมด Rookie โหมดนี้จะมีการฟื้นตัวให้ผู้เล่นมากขึ้น เป็นตัวช่วยที่ตัวเกมปกติไม่มีให้ นอกจากนี้ Metroid Dread จะมีอัปเดตใหม่ในช่วงเดือนเมษายนนี้ โหมด Boss Rush ที่ผู้เล่นจะได้ต่อสู้กับบอสทุกตัวภายในเกมนี้ Metroid Dread สุดยอดเกมอีกเกมหนึ่งที่อยากให้หลายคนได้ลองเล่น เกมนี้วางจำหน่ายให้กับ Nintendo Switch แล้ว อ้างอิง พิสูจน์อักษร : สุชยา เกษจำรัสจีรนาถ เรืองทรัพย์ | 1526 days ago
Read More10/02/2022
โหมด Salmon Run จะกลับมาอีกครั้งใน Splatoon 3
Splatoon 3 เจอกันช่วงฤดูร้อนปีนี้แน่นอน แต่ยังไม่มีประกาศวันวางจำหน่ายอย่างเป็นทางการ Nintendo อัปเดตข้อมูลใหม่ของ Splatoon 3 ใน Nintendo Direct พร้อมโชว์โหมด Salmon Run จากภาค 2 จะกลับมาอีกครั้งในภาค 3 ในชื่อ Salmon Run Next Wave มาพร้อมความสามารถใหม่และปลาชนิดใหม่ ๆ ที่เก่งมากขึ้น Salmon Run เป็นโหมดที่ผู้เล่นทั้ง 4 คน จะต้องช่วยกันป้องกันฐานจากการบุกของปลาชนิดต่าง ๆ พร้อมกับเก็บไข่ปลาไปไว้ในฐานตามกำหนดก่อนเวลาจะหมด เป็นโหมดที่ต้องช่วยกันภายในทีม Splatoon วางจำหน่ายครั้งแรกให้กับ Nintendo Wii U เมื่อปี ค.ศ. 2015 และตามมาด้วย Splatoon 2 ใน Nintendo Switch ปี ค.ศ. 2017 เกมนี้ถือว่าเป็นอีกเกมที่ได้รับความนิยมของ Nintendo อ้างอิงจีรนาถ เรืองทรัพย์ | 1526 days ago
Read More04/02/2022
Pokemon Legends: Arceus มียอดขายทะลุ 6.5 ล้านชุด
ผู้จัดจำหน่าย Nintendo และทีมพัฒนา Game Freak ได้ประกาศว่าเกม Pokemon Legends: Arceus มียอดขายมากกว่า 6.5 ล้านชุด พร้อมทั้งกล่าวขอบคุณผู้เล่นทุกคนที่มาร่วมออกผจญภัยกันอีกครั้ง ก่อนหน้านี้เว็บไซต์ Famitsu เปิดเผยว่าเกม Pokemon Legends: Arceus มียอดขายในญี่ปุ่นถึง 1,424,657 ชุด โดยเกมนี้ออกวางจำหน่ายทั่วโลกบนแพลตฟอร์ม Nintendo Switch เมื่อวันที่ 28 มกราคม 2022 อ้างอิง พิสูจน์อักษร : สุชยา เกษจำรัสศุภกร ประเสริฐศิลป์ | 1532 days ago
Read More01/02/2022
แฟนเกมนำ Zelda: Ocarina of Time มารีเมกใหม่ด้วย Unreal Engine 5
เมื่อนำขุมพลัง Unreal Engine 5 มาใช้ การแสดงภาพมีความสมจริงและสวยงามมากยิ่งขึ้น แฟนเกมนำ Unreal Engine 5 มาใช้กับ The Legend of Zelda: Ocarina of Time จนตัวเกมออกมาเหมือนอย่างกับเกมใหม่ RwanLink ยูทูบเบอร์ผู้นำ Unreal Engine 5 มารีเมกให้กับ The Legend of Zelda: Ocarina of Time ปี ค.ศ. 1998 ของ Nintendo 64 เห็นได้ชัดว่าการแสดงภาพภายในเกมดูมีชีวิตชีวา แสงเงาสวยงามในทะเลสาบ Hylia นี่อาจจะเป็นสิ่งที่แฟน Zelda ต้องการในเครื่องเกมยุคต่อไปของ Nintendo ก็เป็นได้ "เป้าหมายคือการนำซีรีส์นี้มารีเมกใหม่ เมื่อออกมามันดูมีชีวิตชีวามากด้วย Unreal Engine 5 ในการกำกับ ผมวางแผนไว้ว่าจะนำเสนอในรูปแบบภาพยนตร์ แม้ผมอาจจะไม่ใช้นักพัฒนาเกม แต่ผมก็เอาเวลาว่างเรียนรู้การเขียนโปรแกรมให้ตัวละครและแสดงให้คุณได้เห็นสภาพแวดล้อมในมุมมองบุคคลที่…จีรนาถ เรืองทรัพย์ | 1536 days ago
Read More26/01/2022
Youtuber ถ่ายภาพรถแข่งด้วย Game Boy ดัดแปลงที่ติดเลนส์กล้อง DSLR
Game Boy ถูกวางจำหน่ายรุ่นแรกในปี 1989 และได้ออกแบบอุปกรณ์เสริมชื่อว่า Game Boy Camera ที่สามารถทำให้ตัวเครื่องถ่ายรูปได้ด้วยความชัดแค่ 0.1 ล้านพิกเซล และสามารถเก็บได้แค่ 30 รูป ซึ่งรูปที่ถ่ายก็ไม่สามารถย้ายผ่านระบบดิจิทัลได้อีกเช่นกัน ต้องพรินต์ผ่านเครื่องพรินต์เฉพาะทาง (Dot-Matrix) อย่างเดียว ซึ่งเมื่อไม่นานมานี้ได้มี Youtuber ชาวออสเตรเลียชื่อว่า Conorsev ได้ลองดัดแปลงตัวเครื่องด้วยการนำเลนส์กล้อง DSLR มาประกอบสลับใช้งานกับเลนส์ของ Game Boy Camera พร้อมกับทำให้สามารถดาวน์โหลดรูปผ่านระบบดิจิทัลด้วย Arduino ได้เช่นกัน ซึ่งเจ้าตัวได้นำ Gameboy ดัดแปลงนี้ไปถ่ายรูปที่สนามแข่งรถและได้อัปโหลดรูปทั้งหมดขึ้น Twitter ของตนเองครับกรณ์รัฐภาส ธนวัตไชยศรี | 1541 days ago
Read More24/01/2022
ตึกสำนักงานใหญ่ Nintendo ยุคสงครามโลก ถูกเปลี่ยนเป็นโรงแรมสุดขลัง
คอเกมคงจะฟินไม่น้อย หากได้นอนเอนกายพักผ่อนที่ ‘Marufukuro’ โรงแรมแห่งใหม่ในกรุงเกียวโต ประเทศญี่ปุ่น ซึ่งเป็นการนำอาคารสำนักงานใหญ่แห่งแรกของบริษัทเกมอย่าง Nintendo มาตกแต่งใหม่ให้กลายเป็นโรงแรมสุดขลัง ก่อนจะกลายเป็นบริษัทเกมระดับโลก Nintendo นั้นถูกก่อตั้งขึ้นในปี 1889 โดย ฟูซาจิโร ยามาอุจิ (Fusajiro Yamauchi) ซึ่งต่อมาในปี 1933 ยามาอุจิก็ได้ทำการเปลี่ยนชื่อบริษัทจากเดิมคือ ‘Nintendo Koppai’ กลายเป็น ‘Yamauchi Nintendo’ อีกทั้งยังเปลี่ยนธุรกิจจากการผลิตไพ่ญี่ปุ่นเป็นไพ่ตะวันตกแทนอีกด้วย ในปี 1959 หลังธุรกิจของ Nintendo ขยายตัวขึ้น บริษัทจึงได้ทำการย้ายสำนักงานใหญ่ ก่อนจะก่อตั้งบริษัทจัดจำหน่ายชื่อ ‘Marufuku’ ซึ่งเป็นที่มาของชื่อโรงแรมแห่งนี้ โดยคำว่า ‘ro’ ที่ถูกเติมมาในตอนท้ายนั้นหมายถึงคฤหาสน์หรืออาคารที่มีราคาแพง เดิมทีอาคาร Nintendo แห่งนี้ ถูกทิ้งร้างไว้นานร่วม 6 ทศวรรษ จนกระทั่งต้นปี 2022 ‘Plan Do See’ ซึ่งเป็นบริษัทในโตเกียวที่เชี่ยวชาญด้านการปรับปรุงอาคารเก่าแก่ ก็ได้ก้าวเข้ามาแปลงโฉมอาคารประวัติศาสตร์แห่งนี้ให้กลายเป็นโรงแรม อีกทั้งยังได้สถาปนิกชื่อดังระดับโลกอย่าง ทาดาโอะ อันโด (Tadao…วิทวัส ปัญญาเลิศวุฒิ | 1543 days ago
Read More19/01/2022
NFT เหรอเจอนี่หน่อย ! ‘The Game Boy Camera Gallery’ แกลเลอรีศิลปะเสมือนจริงที่ต้องดูผ่าน ROM เครื่อง Game Boy เท่านั้น!
ศิลปินคนหนึ่งเลือกจะสวนกระแส NFT ด้วยการจัดงานแกลเลอรี หรืองานนิทรรศการศิลปะแบบเสมือนจริงขึ้นมา เพียงแต่ว่างานเหล่านั้นเป็นงานสไตล์ Pixel Art แบบเกมย้อนยุค และต้องดูผ่านการซื้อไฟล์ ROM เครื่องเกมคอนโซลพกพาในตำนานอย่างเครื่อง 'เกมบอย' (Gameboy) เท่านั้น ราวกับว่าเหมือนได้ย้อนกลับไปเล่นเครื่องเกมยุค 90's แบบที่เรียกว่ามีกี่ ETH ก็ซื้อไม่ได้ !ประภาส อยู่เย็น | 1548 days ago
Read More17/01/2022
ลือ Donkey Kong ภาคใหม่กำลังถูกพัฒนา
มีข่าวลือ Donkey Kong ภาคใหม่ กำลังอยู่ในการพัฒนา ล่าสุดที่ Donkey Kong วางจำหน่าย ต้องย้อนกลับไปเมื่อปี ค.ศ. 2014 Donkey Kong Country: Tropical Freeze ให้กับ Nintendo Wii U ก่อนพอร์ตมา Nintendo Switch ในปี ค.ศ. 2018 เป็นระยะเวลาก็เนิ่นนานมาหลายปี DK ก็ยังไม่มีภาคใหม่ออกมาสักที ตอนใหม่ของพอดแคสต์ช่อง Nate the Hate พูดคุยในเรื่องเกี่ยวกับเกมของ Nintendo ที่กำลังจะมาในปี ค.ศ. 2022 นี้ มีเนื้อหาที่น่าสนใจมากมาย ในเนื้อหานั้นมีข้อมูล Donkey Kong ภาคใหม่ Nintendo กำลังพัฒนาอยู่ แน่นอนว่าให้กับ Nintendo Switch แต่ข้อมูลไม่ชัดเจนว่าตัวเกมจะมาในรูปแบบ 2D หรือ 3D อีกสิ่งสำคัญที่จะได้เห็นภาคใหม่ของ…จีรนาถ เรืองทรัพย์ | 1550 days ago
Read More13/01/2022
Kirby and the Forgotten Land เตรียมวางจำหน่าย 25 มี.ค. นี้
ผู้จัดจำหน่าย Nintendo และทีมพัฒนา HAL Laboratory ได้ประกาศว่าจะวางจำหน่ายเกม Kirby and the Forgotten Land เวอร์ชัน Nintendo Switch ในวันที่ 25 มีนาคม 2022 มาร่วมเดินทางไปกับเจ้าก้อนสีชมพู Kirby ในเกมแนวผจญภัย แพลตฟอร์มเมอร์ ที่ยากจะลืมเลือน ผู้เล่นจะได้สำรวจด่านแบบ 3D, ค้นพบโลกลึกลับ, เขมือบศัตรูเพื่อเลียนแบบความสามารถใหม่อย่าง Drill และ Ranger และใช้สกิลต่าง ๆ เพื่อช่วย Waddle Dee จาก Beast Pack นอกจากนี้ผู้เล่นยังสามารถชวนเพื่อนมาเล่นเป็น Bandana Waddle Dee และพิชิตโลกที่ถูกลืมไปด้วยกัน อ้างอิง พิสูจน์อักษร : สุชยา เกษจำรัสศุภกร ประเสริฐศิลป์ | 1554 days ago
Read MorePR Partners
See All16/04/2026
ภูษิต เรืองอุดมกิจ | 11 hours ago
เจาะอินไซต์สงกรานต์ 2569: เมื่อ AI จากทรู เผย “อีสาน” คือหมุดหมายหลัก และ “จีน” ครองบัลลังก์นักท่องเที่ยว
16 เมษายน 2569 – จบลงอย่างคึกคักสำหรับเทศกาลสงกรานต์ปีล่าสุด ทรู คอร์ปอเรชั่น ใช้เทคโนโลยี Mobility Data และ AI Autonomous Network วิเคราะห์พฤติกรรมมหาชนแบบเรียลไทม์ พบเทรนด์ใหม่ที่น่าสนใจ: คนกรุงมุ่งหน้าสู่เมืองรองภาคอีสานพุ่งกระฉูด ขณะที่ Soft Power ไทยยังขลัง ดึงดูดนักท่องเที่ยวจีนกลับมาครองอันดับ 1 อย่างเหนียวแน่น ปรากฏการณ์ “อีสานฟีเวอร์”: แชมป์จุดหมายปลายทางปี 69 ข้อมูลจาก Mobility16/04/2026
Huawei x ศุภาลัย x ION Energy ปฏิวัติวงการบ้านโซลาร์ ชูสิทธิลดหย่อนภาษีสูงสุด 2 แสนบาท
หมดความกังวลเรื่องค่าไฟแพงในช่วงหน้าร้อน หรือความยุ่งยากในการติดตั้งระบบโซลาร์เซลล์ ! เมื่อ 3 ยักษ์ใหญ่ Huawei Digital Power, บมจ.ศุภาลัย (SPALI) และ ION Energy จับมือกันเปลี่ยนหลังคาบ้านให้เป็นโรงไฟฟ้าส่วนตัวที่ปลอดภัย เข้าถึงง่าย และคุ้มค่ากว่าเดิม ภายใต้เป้าหมายติดตั้งโซลาร์รูฟท็อปให้บ้านศุภาลัยกว่า 1,500 หลัง ภายใน 3 ปี เจาะลึกความคุ้มค่า "Solar Package" เอ็กซ์คลูซีฟเฉพาะลูกบ้านศุภาลัย แพ็กเกจนี้ถูกออกแบบมาเพื่อแก้ Pain Point ของคนอยากติดโซลาร์เซลล์โดยเฉพาะ โดยมอบสิทธิประโยชน์ที่เหนือกว่ามาตรฐานตลาด: ไฮไลต์เด็ด: ติดโซลาร์วันนี้ รัฐช่วยจ่ายผ่านการลดหย่อนภาษี มาตรการรัฐเปิดทางให้คุณนำค่าใช้จ่ายไปลดหย่อนภาษีได้แบบจัดเต็ม Huawei ตอกย้ำว่าระบบโซลาร์ต้องมาพร้อมความปลอดภัยและมาตรฐานอุปกรณ์ระดับโลก เพื่อความคุ้มค่าในระยะยาว ทางศุภาลัยมุ่งเปลี่ยนโซลาร์รูฟท็อปให้เป็น "โครงสร้างพื้นฐาน" ที่จับต้องได้จริง ปลดล็อกความกังวลของลูกบ้านด้วยแพ็กเกจที่มั่นใจได้ และ ION Energy ได้ทลายความซับซ้อนด้วยบริการที่ง่าย รวดเร็ว พร้อมเดินสาย Roadshow ตามโครงการศุภาลัยทั่วประเทศเพื่อให้คำปรึกษา ทางกบ้านศุภาลัยที่สนใจ สามารถลงทะเบียนรับสิทธิ์ได้ง่าย ๆ ผ่านแอปพลิเคชัน…ภูษิต เรืองอุดมกิจ | 13 hours ago
Read More10/04/2026
Game Changer แห่งวงการสัตว์เลี้ยง: วิเคราะห์กลยุทธ์ True x IoT กับการสร้าง Ecosystem เพื่อสมาชิกคนสำคัญในบ้าน
กรุงเทพฯ 10 เมษายน 2026 – ทรู คอร์ปอเรชั่น ตอกย้ำผู้นำบริษัทโทรคมนาคม–เทคโนโลยี มุ่งส่งมอบบริการที่เป็นมากกว่าแค่การเชื่อมต่อ (Beyond Connectivity) เพื่อเติมเต็มชีวิตและตอบโจทย์ไลฟ์สไตล์ของผู้บริโภคชาวไทย ผสานพลังเครือข่าย ทรูออนไลน์ กับ เทคโนโลยี IoT ผ่าน TrueX ยกระดับชีวิตในบ้านให้สมาร์ต สะดวกสบาย และครบครันยิ่งขึ้น ช่วยให้การดูแลบ้าน ครอบครัว และสัตว์เลี้ยงเป็นเรื่องง่าย ล่าสุด เจาะตลาดกลุ่มคนรักสัตว์ ประเดิมร่วมมือกับ ออริจิ้น กรุ๊ป สร้างมาตรฐานใหม่ของที่อยู่อาศัยที่เป็นมิตรกับสัตว์เลี้ยง ซึ่งเป็นหนึ่งในสมาชิกของครอบครัว ชูจุดเด่นนวัตกรรมล้ำสมัยที่ออกแบบมาเพื่อแก้ปัญหาและความกังวลของคนรักสัตว์โดยเฉพาะ ช่วยเพิ่มความมั่นใจให้เหล่า Pet Parents ดูแลสัตว์เลี้ยงได้อย่างสบายใจยิ่งขึ้น อาทิ TrueX Smart Pet Tracker อุปกรณ์ติดตามอัจฉริยะระบบ Cellular ที่ช่วยติดตามสัตว์เลี้ยงได้แม่นยำทุกที่ทั่วไทย เหนือกว่าระบบ Bluetooth ทั่วไป และ TrueX Smart CCTV Camera 4 Pro…ภูษิต เรืองอุดมกิจ | 6 days ago
Read More07/04/2026
ปรากฏการณ์ “Chery” เขย่า Motor Show 2026: ยอดจองพุ่งทะลุ 7,500 คัน ส่ง “Chery Q” ขึ้นแท่นลูกรักคนเมืองคนใหม่
ปิดฉากอย่างสวยงามสำหรับงาน Bangkok International Motor Show ครั้งที่ 47 เมื่อน้องใหม่อย่าง Chery Thailand ไม่ได้มาเล่นๆ แต่สร้างปรากฏการณ์ "Small but Mighty" กวาดยอดจองรวมสูงถึง 7,509 คัน ตอกย้ำเทรนด์รถยนต์พลังงานไฟฟ้า (EV) และ Plug-in Hybrid (PHEV) ในไทยที่ยังคงแรงดีไม่มีตก ความสำเร็จครั้งนี้ไม่ได้มาจากโชคช่วย แต่มาจาก "Product Lineup" ที่ตอบโจทย์ Insight ของคนไทยอย่างตรงจุด: มร. จิม ลี ผู้อำนวยการบริหารแบรนด์ เชอรี ประเทศไทย เผยว่า ยอดจองกว่า 7,500 คันในงาน Motor Show ครั้งแรกของแบรนด์ คือเครื่องพิสูจน์ความไว้วางใจที่ผู้บริโภคมีต่อดีไซน์และเทคโนโลยีของ Chery Chery แก้โจทย์ความกังวลของผู้ใช้ EV ด้วยกลยุทธ์ "Customer First" สำหรับใครที่พลาดงาน Motor…ภูษิต เรืองอุดมกิจ | 9 days ago
Read More































