Tags
| Canon RF 100mm f/2.8L IS USM Macro
03/04/2021
บดินทร์ ตันวิเชียร | 1805 days ago
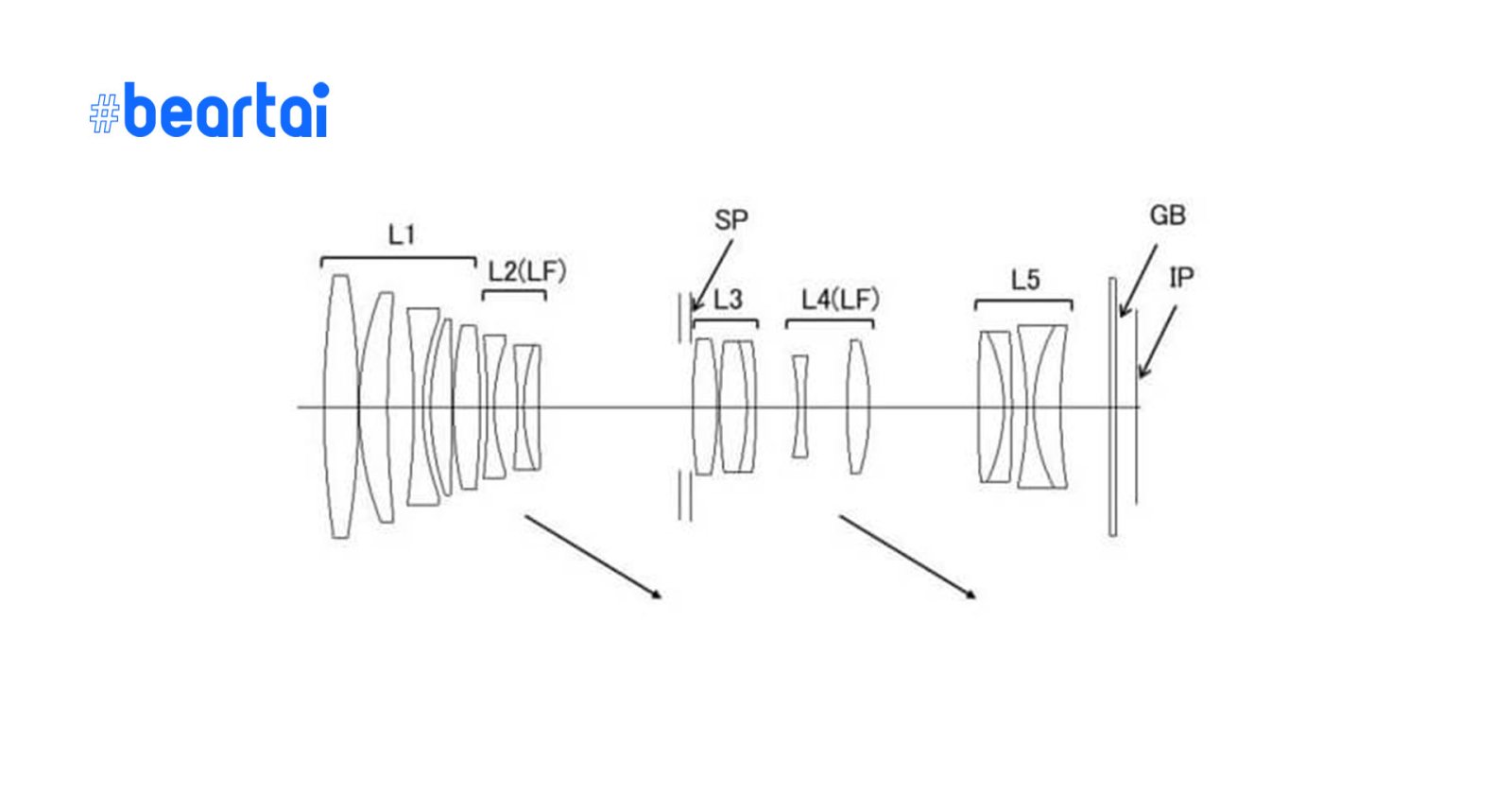
ลือ Canon เตรียมเปิดตัวเลนส์ RF 100mm f/2.8 Macro, 400mm f/2.8 และ 600mm f/4 เร็ว ๆ นี้
Nokishita สำนักข่าวเจ้าดังจากญี่ปุ่นเผย Canon เตรียมเปิดตัวเลนส์ระยะเทเลโฟโตเกรดโปรสำหรับฟูลเฟรมมิเรอร์เลสเมาท์ RF ถึง 3 ตัว ด้วยกันครับ แถมหนึ่งตัวยังเป็นมาโคร ประกอบไปด้วยPR Partners
See All06/03/2026
ภูษิต เรืองอุดมกิจ | 7 days ago
ประกาศรางวัลผู้ได้รับรางวัล SDGs Awards ใน The 2nd BT Awards: The Impact Makers
BT ขอประกาศผู้ที่ได้รับรางวัล SDGs Awards ใน The 2nd BT Awards: The Impact Makers รางวัลที่มอบให้กับผู้ที่สร้างผลกระทบเชิงบวกให้กับโลกเพื่อวันพรุ่งนี้ที่ดีกว่า ผ่านเป้าหมายพัฒนาที่ยั่งยืน หรือ SDGs (Sustainable Development Goals) ที่ครอบคลุมในทุกมิติ ตั้งแต่สิ่งแวดล้อม สังคม ความเท่าเทียม การศึกษา นวัตกรรม ความยากจน สุขภาพ พลังงานสะอาด เศรษฐกิจดิจิทัล และอีกอื่น06/03/2026
COMMART GAMEFORCE 2026 ช้อปสนั่น มันเต็มแม็กซ์ 5 – 8 มีนาคม 2569
บริษัท เออาร์ไอพี จำกัด (มหาชน) หรือ ARIP ร่วมกับพันธมิตรแบรนด์ไอทีชั้นนำ กว่า 200 แบรนด์ยกทัพสินค้าไอทีร่วมงาน “COMMART GAMEFORCE ช้อปสนั่น มันเต็มแม็กซ์” มหกรรมแสดงและจำหน่ายสินค้าไอทีครั้งใหญ่ช่วงต้นปี 2569 พร้อมยกระดับประสบการณ์เกมมิ่ง เทคโนโลยี AI ภายใต้ความร่วมมือแบรนด์ไอทีชั้นนำ อาทิ ACE, Banana, E-Quip, Epson, iStudio by spvi, IT City, JIB, Maru, Zarukon, JIB Mobile, MSI, Speed Computer, Speed Gaming, Studio7, AMD, AppleSheep, Ascenti, ASUS, ROG, Bewell, Cougar, ERGOTREND, GamersLab, SecretLAB, เครดิตบูโร , Moonshot, GeForce…อมลวรรณ ศรัทธานนท์ | 7 days ago
Read More05/03/2026
AF 2026 ประกาศเซอร์ไพรส์ใหญ่ ! เปิดตัวสิทธิ์ Fast Track ช่วงโค้งสุดท้าย Online Audition สู่รอบ Workshop ทันที
ทวีความเข้มข้นขึ้นทุกขณะสำหรับปรากฏการณ์เรียลลิตี้อันดับหนึ่งของเมืองไทยกับการกลับมาอย่างยิ่งใหญ่ของ “ทรู อะคาเดมี แฟนเทเชีย” (True Academy Fantasia) ล่าสุดตอกย้ำกระแสความแรงด้วยการประกาศเซอร์ไพรส์จัดหนักในช่วงโค้งสุดท้ายของรอบ Online Audition เปิดโอกาสให้นักล่าฝันตัวจริงคว้าสิทธิ์ Fast Track เพื่อผ่านเข้าสู่รอบ Workshop ทันที โดยจะได้ร่วมงานกับสองเอ็กเซ็กคิวทีฟ โปรดิวเซอร์ (Executive Producer) ระดับแถวหน้าของวงการ ถือเป็นทางลัดสำคัญที่เหล่านักล่าฝันไม่ควรพลาด โปรดิวเซอร์มือทองอย่าง ปอนด์ - กฤษดา วิทยาขจรเดช ผู้ก่อตั้งและ CEO ของ BeOnCloud คือกำลังสำคัญที่ขับเคลื่อนคอนเทนต์ไทยสู่เวทีนานาชาติ ด้วยวิสัยทัศน์ที่ชัดเจน เขาพาทีมสร้างสรรค์ผลงานซีรีส์และภาพยนตร์ที่ได้รับความนิยมทั้งในประเทศและต่างประเทศ พร้อมยกระดับงานโปรดักชันให้ได้มาตรฐานสากล จนกลายเป็นหนึ่งในค่ายที่ถูกจับตามองในอุตสาหกรรมบันเทิงระดับโลก และโอม - ปัณฑพล ประสารราชกิจ ศิลปิน นักแต่งเพลง และผู้บริหารคนสำคัญของวงการดนตรีไทย เจ้าของผลงานฮิตมากมาย ด้วยประสบการณ์ทั้งบนเวทีและเบื้องหลัง เขาเข้าใจศิลปินอย่างแท้จริง และได้รับการยอมรับในฐานะนักปั้นที่ผสานความคิดสร้างสรรค์กับมุมธุรกิจได้อย่างลงตัว เพื่อคัดเลือกเป็น 12 นักล่าฝันตัวจริงเข้าสู่บ้าน AF โดยกติกาง่าย ๆ เพียงโพสต์คลิปแสดงความสามารถพร้อมติดแฮชแท็ก #AF2026…รัตนาภรณ์ ศรีนวลจันทร์ | 8 days ago
Read More04/03/2026
สุดยอดผู้นำเทรนด์และความเป็นเลิศด้าน ESG กับ ‘The Better World Corporate Awards’ จากเวทีประกาศรางวัล Future Trends Awards 2026
ก้าวข้ามขีดจำกัดของธุรกิจสู่การสร้างคุณค่าที่ยั่งยืน กับรางวัล ‘The Better World Corporate Awards’ จากเวที Future Trends Awards 2026 รางวัลที่มอบให้แก่องค์กรสุดยอดผู้นำเทรนด์และความเป็นเลิศด้าน ESG ซึ่งไม่ได้มุ่งเน้นเพียงความสำเร็จทางตัวเลข แต่คือการพิสูจน์ให้เห็นว่าธุรกิจสามารถเติบโต ควบคู่ไปกับการดูแลโลกและสร้างคุณภาพชีวิตที่ดีให้กับผู้คนได้อย่างสมบูรณ์แบบ โดย Future Trends Awards 2026 คืองานประกาศรางวัลสุดยอดผู้นำเทรนด์แห่งปี ที่จะมอบให้กับองค์กร แบรนด์ ผลิตภัณฑ์ และบุคคลแห่งอนาคต ผู้สร้างสรรค์นวัตกรรมใหม่ๆ เพื่อประกาศและเชิดชูความสำเร็จให้แก่องค์กร แบรนด์ ผลิตภัณฑ์ และบุคคล ที่มีความคิดริเริ่มสร้างสรรค์งานที่มีความโดดเด่น ซึ่งก่อให้เกิดคุณค่าสูงสุดต่อสังคมเป็นวงกว้าง ผ่าน 3 ขั้นตอนดังนี้ 1. เปิดรับการเสนอรายชื่อองค์กรเพื่อสมัครเข้าร่วมการประกวด 2. คณะกรรมการผู้ทรงคุณวุฒิคัดเลือกคุณสมบัติผู้สมัคร ตามหลักเกณฑ์คะแนน 3. คณะกรรมการผู้ทรงคุณวุฒิร่วมคัดเลือกเฟ้นหาผู้ชนะในแต่ละสาขารางวัล และเปิดโหวตแสดงความคิดเห็นเพื่อเฟ้นหาผู้ชนะรางวัล โดยรางวัล The Better World Corporate Awards มีทั้งสิ้น 5 สาขา ดังนี้…ภูษิต เรืองอุดมกิจ | 9 days ago
Read More











