Tags
| Mirrorless
06/12/2024
บดินทร์ ตันวิเชียร | 522 days ago
เปิดตัว SAMYANG AF 12mm F2 เลนส์ Ultra-Wide บุกตลาด Canon RF-S APS-C
นอกจากการเปิดตัวเลนส์ซีรีส์ใหม่อย่าง AF 35mm F1.4 P 'Prima' ที่เป็นการยกระดับมามาตรฐานใหม่ของเลนส์ฟูลเฟรมเจนที่ 3 ทาง SAMYANG ก็ได้ส่งเลนส์ประเดิมไลน์ใหม่สำหรับกล้อง Canon RF-S APS-C อีกด้วยครับ กับ 'AF 12mm F2' ช่วง Ultra-Wide ระยะเทียบเท่า 19mm บนฟูลเฟรม ในขนาดตัวกะทัดรัด น้ำหนักเบา ต้องบอกว่า AF 12mm F2 เป็นเลนส์ AF มุมกว้างไวแสงในราคาหมื่นต้นที่เคยออกในเมาท์อื่น ๆ มาแล้วครับ ไม่ว่าจะเป็น Sony E หรือ FUJIFILM X ซึ่งนี่เป็นการประเดิมในเมาท์ใหม่อย่าง Canon RF กันบ้าง แถมทางค่ายยังบอกอีกว่าให้รอติดตามเลนส์ RF-S ที่จะออกตามมาในอนาคตอีกด้วย ความดีงามของเจ้าเลนส์ตัวนี้นอกจากจะหนักแค่ 213 กรัมแล้ว ยังมีซีลกันละอองน้ำละอองฝุ่นอีกด้วยครับ ทำให้ใช้งาน outdoor ได้แบบอุ่นใจ สเปก SAMYANG…20/02/2024
FUJIFILM เตรียมปล่อยเฟิร์มแวร์ให้กล้อง X Series เจนที่ 5 อัปเกรดประสิทธิภาพ เพิ่ม Film Simulation ‘REALA ACE’
ในงาน FUJIFILM X Summit Tokyo 2024 พร้อม ๆ กับการเปิดตัวของกล้อง 'X100VI' ทางฟูจิฟิล์มได้ประกาศเตรียมอัปเกรดประสิทธิภาพของกล้อง X Series ในเจนที่ 5 ไม่ว่าจะเป็น X-H2S, X-H2, X-T5 และ X-S20 ทั้งระบบโฟกัส ฟีเจอร์ใหม่ และสี Film Simulation ตัวล่าสุด ผ่านเฟิร์มแวร์ในอนาคตครับบดินทร์ ตันวิเชียร | 812 days ago
Read More20/02/2024
หลุดภาพ! SIGMA 15mm F1.4 DG DN Fisheye Art และ 500mm F5.6 DG DN OS Sports ก่อนเปิดตัววันพรุ่งนี้
งานนี้มาแน่นอนตามข่าวลือครับ โดยมีการเผยภาพหลุดแบบชัด ๆ ของ 2 เลนส์ใหม่จากค่าย SIGMA '15mm F1.4 DG DN Diagonal Fisheye | Art' และ '500mm F5.6 DG DN OS Sports' ก่อนเปิดตัวในวันที่ 21 กุมภาพันธ์นี้บดินทร์ ตันวิเชียร | 812 days ago
Read More19/02/2024
Panasonic เตรียมเปิดตัวเลนส์ Zoom พกตัวเดียวเที่ยวรอบโลก ภายในสัปดาห์นี้!
พบข่าวลือแบรนด์ Panasonic เตรียมเปิดตัวเลนส์ซีรีส์ Lumix S รุ่นใหม่สำหรับกล้องมิเรอร์เลสฟูลเฟรม L-mount ในช่วงงาน CP+ 2024 สัปดาห์นี้ครับ โดยเลนส์ดังกล่าวคาดว่าเป็นช่วง all-in-one ตัวเดียวเที่ยวรอบโลกบดินทร์ ตันวิเชียร | 814 days ago
Read More13/03/2021
เทียบขนาดเลนส์ Sony FE 50mm f/1.2 G Master ที่จะเปิดตัววันที่ 16 มีนาคมนี้
เว็บไซต์ SonyAlpha Rumors โชว์ภาพเทียบขนาดเลนส์ Sony FE 50mm f/1.2 GM ที่ลือกันว่าจะเปิดตัวในวันที่ 16 มีนาคมที่จะถึงนี้ กับเลนส์ ZEISS 50mm f/1.4 และ Sigma 50 f/1.4 ให้เราได้ชมกันครับบดินทร์ ตันวิเชียร | 1886 days ago
Read More12/03/2021
ลือสเปกเลนส์ Sony FE 50mm f/1.2 GM โฟกัสได้ใกล้กว่าและเบากว่า 50mm f/1.4 ZEISS!
หลุดออกมาแล้วครับสำหรับสเปกเลนส์ Sony FE 50mm f/1.2 GM โดยทางเว็บไซต์ SonyAlpha Rumors รายงานว่าเลนส์ตัวนี้จะสามารถโฟกัสได้ใกล้กว่า และมีน้ำหนักที่เบากว่า 50mm f/1.4 ZEISS อีกนะครับ (f/1.2 เบากว่า f/1.4 น่าสนใจจริง ๆ)บดินทร์ ตันวิเชียร | 1887 days ago
Read More11/03/2021
ลือ กองทัพ Roadmap เลนส์โซนี่ประจำปี 2021
เว็บไซต์ SonyAlpha Rumors รายงานถึงข่าวลือ Roadmap กองทัพเลนส์โซนี่หลายรุ่นในปี 2021 ซึ่งมาจากแหล่งข่าวเดียวกับข่าวลือ FE 50 f/1.2 GM ที่จะเปิดตัววันที่ 16 มีนาคมนี้ครับ และถ้าข่าว 50mm f/1.2 เป็นจริงนี่ roadmap รอบนี้ก็อาจจมีโอกาสเป็นไปได้เหมือนกันครับบดินทร์ ตันวิเชียร | 1888 days ago
Read More08/03/2021
รวม 6 รายชื่อกล้อง Canon ที่คาดว่าจะเปิดตัวในปี 2021 นี้!
ตั้งแต่เปิดตัว EOS R5 กับ R6 มานี่เรียกได้ว่ามาแรงจริง ๆ ครับกับค่าย Canon โดยในปีนี้จะมีกล้องรุ่นใหม่ตัวไหนจากค่ายหนอนให้เราได้เห็นกันบ้าง มาดูกันครับกับ 6 รายชื่อกล้อง Canon ที่คาดว่าจะเปิดตัวในปี 2021บดินทร์ ตันวิเชียร | 1891 days ago
Read More08/03/2021
ข่าวลือ Canon อาจเปลี่ยนหน้าตาเมนูในกล้องรุ่นใหม่ที่จะเปิดตัวหลังจากนี้
ตอนนี้มีความลือที่ดูเหมือนว่า Canon เองกำลังพัฒนาเมนูตัวใหม่ให้กับกล้องในอนาคตที่จะเปิดตัวหลังจากนี้ครับ ซึ่งไม่รู้ว่าจะพัฒนาไปในทิศทางไหนหรือมีหน้าตาตัวเมนูแบบใด แต่คิดว่ามีความเป็นไปได้ที่เมนูตัวนี้จะถูกใส่มาใน EOS R1 ตัวท็อปสุดของค่ายด้วยครับบดินทร์ ตันวิเชียร | 1891 days ago
Read More06/03/2021
Viltrox ปล่อยเฟิร์มแวร์ใหม่ สำหรับเลนส์ 23mm F/1.4, 33mm F/1.4 และ 56mm F/1.4 เมาท์ Fujifilm XF
Viltrox ค่ายผลิตอุปกรณ์ถ่ายภาพจากประเทศจีนออกเฟิร์มแวร์ใหม่สำหรับเลนส์ autofocus ถึงสามระยะด้วยกัน ประกอบด้วย 23mm F/1.4, 33mm F/1.4 และ 56mm F/1.4 เมาท์ Fujifilm XF ครับบดินทร์ ตันวิเชียร | 1893 days ago
Read More06/03/2021
ลือ OM Digital Solutions เตรียมเปิดตัวผลิตภัณฑ์แรก วันที่ 17 มีนาคมนี้
หลังจากเปลี่ยนมือธุรกิจกล้องจาก Olympus มาเป็น OM Digital Solutions Corporation ตั้งแต่เมื่อต้นปีที่ผ่านมา ตอนนี้ดูเหมือนว่า OM Digital กำลังจะเปิดตัวผลิตภัณฑ์ตัวแรกในวันที่ 17 มีนาคม 2021 ที่จะถึงนี้แล้วครับบดินทร์ ตันวิเชียร | 1893 days ago
Read More03/03/2021
Laowa เปิดตัวเลนส์มือหมุน 5 รุ่น รูรับแสงกว้างถึง f/0.95 สำหรับกล้องฟูลเฟรม, APS-C และ MFT
Venus Optics เปิดตัวเลนส์มือหมุน Laowa 5 ตัวด้วยกัน สำหรับกล้องฟูลเฟรมสามตัว APS-C และ MFT อีกอย่างละตัว แถมเป็นเลนส์ไวแสงรูรับแสงกว้างถึง f/0.95 หลายตัวเลยครับ จะมีระยะไหนกันบ้างเรามาดูกันดีกว่าบดินทร์ ตันวิเชียร | 1896 days ago
Read More26/02/2021
ยืนยัน! Sigma กำลังพัฒนาเลนส์ซูมซีรีส์ DG DN Sports สำหรับกล้องมิเรอร์เลสโดยเฉพาะ
Sigma ประกาศกำลังพัฒนาเลนส์ซูมซีรีส์ DG DN Sports สำหรับกล้องมิเรอร์เลสใน livestream เมื่อเช้านี้ครับ ในวินาทีที่ 25:25 ตามคลิปด้านล่าง ซึ่งถือว่าน่าดีใจทีเดียวครับสำหรับชาวมิเรอร์เลสบดินทร์ ตันวิเชียร | 1901 days ago
Read More23/02/2021
Laowa เปิดตัวเลนส์มุมกว้าง 11mm f/4.5 เมาท์ Canon RF และ 65mm f/2.8 Macro สำหรับเมาท์ Nikon Z
Venus Optics เปิดตัวเลนส์ Laowa เมาท์ใหม่สองตัวด้วยกัน เริ่มที่ตัวแรก 11mm f/4.5 FF RL สำหรับกล้อง Canon RF และตัวที่สอง 65mm f/2.8 2x Ultra-Macro APO สำหรับเมาท์ Nikon Z ครับบดินทร์ ตันวิเชียร | 1905 days ago
Read More20/02/2021
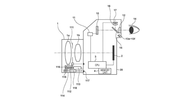
พบสิทธิบัตร Canon eye-controlled focus ระบบโฟกัสด้วยตาจากยุคฟิล์ม แต่รอบนี้มาในกล้องมิเรอร์เลส
Northlight Images เผยสิทธิบัตรระบบ eye-controlled focus ของ Canon สำหรับกล้องมิเรอร์เลส ซึ่งระบบนี้คือระบบเลื่อนจุดโฟกัสด้วยตาในช่องมองภาพจากยุคสมัยกล้องฟิล์ม EOS 5, EOS 3 และ Elan IIE นู้นเลยบดินทร์ ตันวิเชียร | 1907 days ago
Read More19/02/2021
เปิดตัว Fujifilm GFX100S มีเดียมฟอร์แมต และ X-E4 กล้องดีไซน์คลาสสิก เริ่มต้น 28,990 บาท
ฟูจิฟิล์ม (ประเทศไทย) เดินหน้าเปิดตัวกล้องดิจิทัลมิเรอร์เลสอย่างต่อเนื่อง ปลุกกระแสตลาดกล้องให้กลับมาคึกคักอีกครั้ง ล่าสุดกับการเปิดตัว FUJIFILM GFX100S และ FUJIFILM X-E4 ชูนวัตกรรม และเทคโนโลยี ปรับฟังก์ชั่นการใช้งานให้หลากหลาย พร้อมขนาดกล้องที่เล็ก พกพาสะดวก น้ำหนักเบา แต่ยังให้คุณภาพไฟล์ภาพที่ดีเยี่ยมบดินทร์ ตันวิเชียร | 1908 days ago
Read More17/02/2021
เผยวันเปิดตัวพร้อมราคา Panasonic Lumix 70-300mm F/4.5-5.6 เลนส์ telephoto สำหรับกล้อง L-mount
หลังจากมีข่าวลือการเปิดตัวของเลนส์ 'Panasonic LUMIX S 70-300mm F4.5-5.6 MACRO O.I.S.' telephoto L-mount ออกมาเมื่อสองอาทิตย์ก่อน ตอนนี้ครับ Nokishita แหล่งข่าวชื่อดังได้ออกมาเผยข้อมูลสเปกบางส่วน และวันเปิดตัวว่าจะเปิดตัวในวันที่ 22 เมษายน 2021 ครับบดินทร์ ตันวิเชียร | 1910 days ago
Read More15/02/2021
เปิดตัว LA-FE1 อะแดปเตอร์แปลงเลนส์ Nikon F ไปใช้บนกล้อง Sony มิเรอร์เลสแบบ Autofocus
Monster Adapter เปิดตัว LA-FE1 อะแดปเตอร์แปลงเลนส์ Nikon F-mount ไปใช้บนกล้อง Sony มิเรอร์เลส E-mount แบบ Autofocus รองรับการปรับค่ารูรับแสงได้จากตัวกล้อง (คล้าย ๆ กับ LA-KE1 ของ Pentax K ที่เปิดตัวไปก่อนหน้านี้)บดินทร์ ตันวิเชียร | 1913 days ago
Read More13/02/2021
เกิดอะไรขึ้น! ยอดขายกล้องดิจิทัลหดตัวลงทุกปี สวนทางกับ iPhone
ต้องยอมรับก่อนเลยว่ายุคสมัยปัจจุบันไม่เพียงแค่ iPhone เท่านั้น ค่ายอื่นไม่ว่าจะเป็น Samsung, Xiaomi, Huawei, One Plus หรืออื่น ๆ ก็ต่างพัฒนากล้องบนสมาร์ตโฟนของตัวเองเพื่อที่จะได้เป็นจุดขายให้ผู้บริโภคเลือกตัดสินใจในการซื้อ คนส่วนใหญ่ก็มีสมาร์ตโฟนอยู่แล้วทำให้ยอดขายกล้องตกลงไปด้วยเพราะไม่ใช่ทุกคนที่ต้องการกล้องเปลี่ยนเลนส์ได้บดินทร์ ตันวิเชียร | 1915 days ago
Read MorePR Partners
See All12/05/2026
รัตนาภรณ์ ศรีนวลจันทร์ | 15 hours ago
เปิดตัว 12 นักล่าฝัน “TRUE ACADEMY FANTASIA 2026” กับปฏิบัติการล่าฝันที่กลับมาเขย่าวงการบันเทิงอีกครั้ง
เมื่อวินาทีแห่งการรอคอยสิ้นสุดลง พร้อมกับการปรากฏตัวนักล่าฝันตัวจริงแห่งทศวรรษใหม่ ในงานแถลงข่าว “TRUE ACADEMY FANTASIA 2026” เปิดตัว 12 นักล่าฝัน : The Chosen 12 ภายใต้คอนเซปต์ MORE THAN A DREAM For A Better Tomorrow มากกว่าความฝัน...เพื่อพรุ่งนี้ที่ดีกว่า ซึ่งในปีนี้ไม่ได้เป็นเพียงแค่การแข่งขันร้องเพลง แต่คือการประกาศศักดาของกลุ่มคนรุ่นใหม่ที่ผ่านการคัดสรรอย่างเข้มข้นจากคนนับหมื่นทั่วประเทศ จนเหลือ "ที่สุด" เพียง 1211/05/2026
Digital Trust Thailand 2026: เมื่อความเชื่อมั่นทางดิจิทัลไม่ใช่ทางเลือก แต่คือพื้นฐานของชีวิตยุคใหม่
ปัจจุบัน “Digital ID” ไม่ได้เป็นเพียงเครื่องมือสำหรับยืนยันตัวตนอีกต่อไป แต่กำลังก้าวสู่การเป็น “โครงสร้างพื้นฐานสำคัญ” ของบริการดิจิทัลในอนาคต ตั้งแต่การเข้าถึงบริการภาครัฐ การทำธุรกรรมทางการเงิน ไปจนถึงการใช้งานบริการออนไลน์ในชีวิตประจำวัน ทั้งหมดล้วนต้องอาศัย “Digital Trust” หรือความเชื่อมั่นทางดิจิทัล เป็นรากฐานสำคัญ 📊 สำหรับประเทศไทย การพัฒนา Digital ID มีความก้าวหน้าอย่างต่อเนื่อง▪️ มีผู้ให้บริการที่ได้รับอนุญาตแล้ว 26 ราย▪️ รองรับการเชื่อมต่อ e-Service ภาครัฐกว่า 1,300 บริการ▪️ และมีผู้ใช้งานรวมมากกว่า 151 ล้านบัญชี ขณะเดียวกัน ประเทศไทยยังอยู่ระหว่างการผลักดัน• Digital ID Framework 2.0• การเชื่อมโยง Digital ID ระดับภูมิภาค (Cross-border Digital ID)• รวมถึงการนำเทคโนโลยีใหม่อย่าง Decentralized Identity และ Verifiable Credential (VC) มาใช้งานจริง ดังนั้น เพื่อสะท้อนทิศทางการพัฒนา…ภูษิต เรืองอุดมกิจ | 1 days ago
Read More11/05/2026
ก้าวใหม่ของไทยในอวกาศ TIGERS-X ชุดทดสอบการผสมยาบน ISS ในสภาวะไร้แรงโน้มถ่วง
เมื่อ "อวกาศ" ไม่ใช่แค่เรื่องของการสำรวจดวงดาว แต่คือห้องทดลองแห่งความเป็นไปได้ในการแก้ปัญหาข้อจำกัดทางการแพทย์บนโลก วันที่ 13 พฤษภาคม 2026 จะเป็นอีกหนึ่งการเคลื่อนไหวสำคัญของไทย เมื่อชุดการทดลอง TIGERS-X ฝีมือคนไทยเตรียมทะยานสู่สถานีอวกาศนานาชาติ (ISS) เพื่อปลดล็อกความลับของการ "ผสมยา" ในสภาวะไร้น้ำหนัก ทำไมต้องไปผสมยาที่ความสูง 400 กิโลเมตรเหนือพื้นโลก ? โจทย์ใหญ่ของการทดลองนี้คือการศึกษาพฤติกรรม "อิมัลชัน" (Emulsification) หรือการทำให้ของเหลวสองชนิดที่ไม่เข้ากัน (อย่างน้ำกับน้ำมัน) ยอมผสมรวมเป็นเนื้อเดียวกัน ในสภาวะปกติบนโลก แรงโน้มถ่วงคือตัวแปรที่ทำให้การผสมสารทำได้ยาก เพราะเกิดการแยกชั้นหรือการลอยตัวตามความหนาแน่น แต่ในสภาวะไร้น้ำหนัก (Microgravity) บน ISS แรงรบกวนเหล่านี้จะหายไป นักวิจัยจึงสามารถสังเกตการผสมตัวในระดับโมเลกุลได้อย่างแม่นยำที่สุด ซึ่งความรู้นี้คือหัวใจสำคัญในการพัฒนาโภชนาการทางหลอดเลือด (Total Parenteral Nutrition : TPN) และเวชภัณฑ์ขั้นสูง TIGERS-X : นวัตกรรม Lab-on-a-Chip ฝีมือวิศวกรไทย ชุดการทดลอง TIGERS-X เป็นชุดการทดลองทางการแพทย์ในอวกาศชิ้นแรกของประเทศไทย ที่มีขนาดเพียง 20 x 20 x…ภูษิต เรืองอุดมกิจ | 1 days ago
Read More11/05/2026
“ทุนการศึกษาซีพี” โฉมใหม่ 48 ปีแห่งการเฟ้นหาคนเก่งที่มีแววผู้นำ “ประธานอาวุโส ธนินท์ เจียรวนนท์” ชูแนวคิด “สร้างคน สร้างอนาคต” เพื่อเป้าหมายความยั่งยืน
ท่านประธานอาวุโส ธนินท์ เจียรวนนท์ เดินหน้ายกระดับ “โครงการทุนการศึกษาเครือเจริญโภคภัณฑ์” ภายใต้แนวคิด “สร้างคน สร้างอนาคต” มุ่งเฟ้นหาเยาวชนคนเก่งระดับแนวหน้าของประเทศ หรือ Next-Gen Talent ที่มีทั้งความสามารถ ภาวะผู้นำ ความคิดสร้างสรรค์ และศักยภาพในการขับเคลื่อนประเทศในอนาคต เพื่อพัฒนาให้เติบโตเป็น “ผู้นำแห่งอนาคต” ขององค์กร สังคม และประเทศไทย ท่ามกลางโลกยุคใหม่ที่ขับเคลื่อนด้วย AI เทคโนโลยีดิจิทัล นวัตกรรม และการแข่งขันระดับโลก พร้อมเปิดโอกาสให้ผู้ได้รับทุนได้เรียนรู้ ฝึกงาน และต่อยอดสู่การทำงานจริงในเครือเจริญโภคภัณฑ์และบริษัทในเครือ ซึ่งมีธุรกิจครอบคลุมทั้งอาหาร เกษตร ค้าปลีก โทรคมนาคม ดิจิทัล เทคโนโลยี และธุรกิจแห่งอนาคต โครงการทุนการศึกษาเครือเจริญโภคภัณฑ์ ประจำปี 2569 ได้จัดกิจกรรม “CP Scholarship Talent Screening Day 2026” ครอบคลุม 5 ภูมิภาคทั่วประเทศ เพื่อคัดเลือกนักเรียน นิสิต และนักศึกษาที่มีศักยภาพสูง จำนวน 500 คน…รัตนาภรณ์ ศรีนวลจันทร์ | 1 days ago
Read More































