Samsung เตรียมเปิดตัวสมาร์ตโฟนพับจอ 3 ทบ รุ่นแรกของแบรนด์ในปี 2025 นี้ แต่ทางแบรนด์ยังมิได้เปิดเผยกำหนดการที่ชัดเจน และมีข่าวลือว่า Samsung อาจเรียกสมาร์ตโฟนดังกล่าวว่า Galaxy Z TriFold
ล่าสุด องค์กรให้บริการข้อมูลทรัพย์สินทางปัญญาของประเทศเกาหลีใต้ หรือ KIPRIS (Korea Intellectual Property Rights Information Service) ได้เปิดเผยเอกสารสิทธิบัตรล่าสุด ซึ่งทำให้ทราบว่า Samsung Galaxy Z TriFold ได้รับการติดตั้งแบตเตอรี่ จำนวน 3 ก้อน
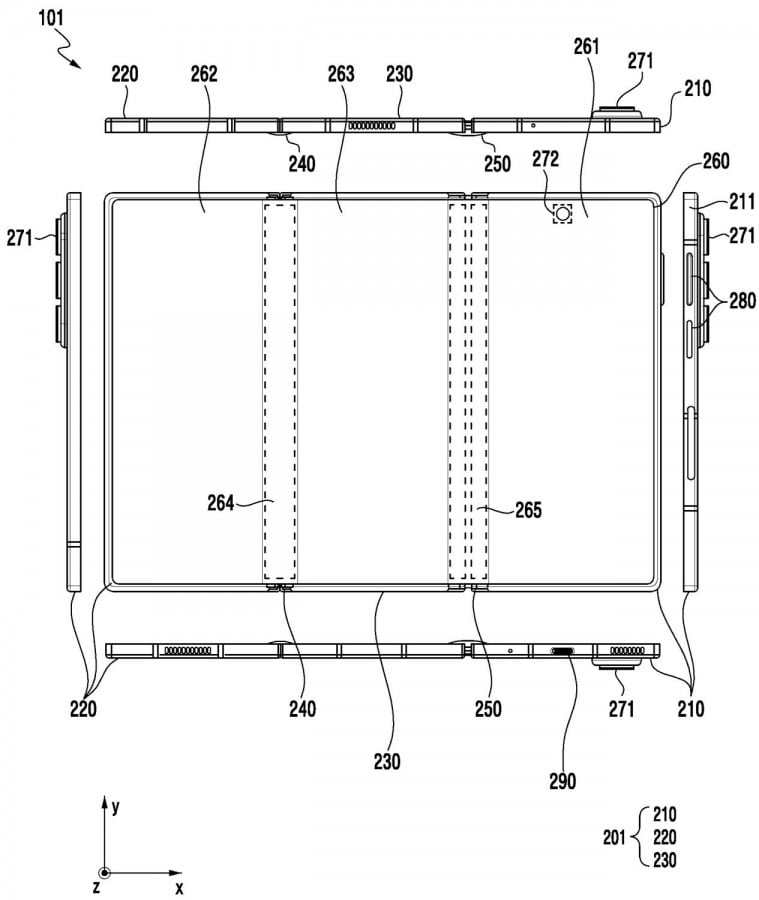
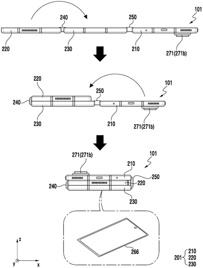
รายละเอียดที่ปรากฏในเอกสารสิทธิบัตรล่าสุดนี้ ระบุว่า นี่เป็นสมาร์ตโฟนที่สามารถพับเข้าหากัน 3 ทบ โดยแบ่งเป็นออกเป็น 3 ส่วน ซึ่งแต่ละส่วนได้รับการติดตั้งแบตเตอรี่ จำนวน 1 ก้อน (ตามภาพร่างที่ปรากฏด้านล่าง) ดังนี้
- แบตเตอรี่ที่มีขนาดเล็กที่สุด (T1) ได้รับการติดตั้งในส่วนที่มาพร้อมกล้อง จำนวน 3 ตัว
- แบตเตอรี่ที่มีขนาดใหญ่ขึ้นมา (T3) ได้รับการติดตั้งในส่วนที่มาพร้อมแผงหน้าจอ และกล้อง จำนวน 1 ตัว
- แบตเตอรี่ที่มีขนาดใหญ่ที่สุด (T2) ได้รับการติดตั้งในส่วนของหน้าจอที่จะพับเข้าหาตรงกลางระหว่างหน้าจออีก 2 ส่วน ในกรณีที่พับจอเข้าหากัน

เอกสารดังกล่าวมิได้ระบุถึงขนาดความจุของแบตเตอรี่แต่ละก้อน หรือความเร็วในการชาร์จไฟแต่อย่างใด แต่คาดว่าจะมีประสิทธิภาพสูงกว่าสมาร์ตโฟนพับจอได้รุ่นล่าสุดของ Samsung อย่าง Galaxy Z Fold7 ที่มาพร้อมแบตเตอรี่ ความจุ 4,400 mAh และรองรับการชาร์จไฟ 25 W


ทั้งนี้มีข่าวลือว่า Samsung อาจจำหน่าย Galaxy Z TriFold เฉพาะในประเทศเกาหลีใต้ และประเทศจีนเท่านั้น แต่มีรายงานต่อมาอ้างว่าอาจได้รับการจำหน่ายในสหรัฐฯ ด้วย และคาดว่าอาจได้รับการเปิดตัวภายในสิ้นเดือนตุลาคม 2025 นี้
นอกจากนี้ Samsung ยังเตรียมเปิดตัวอุปกรณ์ XR (Extended Reality) ระบบ Android รุ่นแรกของแบรนด์ ภายใต้โค้ดเนม Project Moohan (ภาษาเกาหลีมีความหมายว่า ไม่มีจุดสิ้นสุด) ในเดือนตุลาคม 2025 ด้วยเช่นกัน โดยจะเริ่มให้ลงทะเบียนในประเทศเกาหลีใต้ ระหว่างวันที่ 15 – 21 ตุลาคม 2025 ก่อนจะเปิดตัวอย่างเป็นทางการในวันที่ 22 ตุลาคม 2025 นี้













