เทคโนโลยีจอพับได้กำลังได้รับความนิยมเป็นอย่างมาก และคาดว่าจะกลายเป็นไฮไลท์ประจำปี 2019 เลยทีเดียว
บริษัทเทคโนโลยีมากมายต่างเริ่มพัฒนาดีไซน์อุปกรณ์ที่มาพร้อมจอพับได้กันตั้งแต่ปี 2017 โดยคาดว่าอาจมีการเปิตดัวสมาร์ทโฟนจอพับได้ภายในงาน Mobile World Congress (MWC) ประจำปี 2019 นี้ด้วย ไม่ว่าจะเป็น LG, Samsung, Hawei และ Xiaomi
แต่สำหรับ Apple นั้น ดูเหมือนจะยังคงพัฒนาเทคโนโลยีดังกล่าวนี้ต่อไป และเตรียมแผนจะเปิดตัวอุปกรณ์จอพับได้ในปี 2020

ล่าสุดได้มีการเปิดเผยเอกสารสิทธิบัตรที่ยื่นจดตั้งแต่เมื่อปี 2011 และอัปเดตเมื่อปี 2016 โดยแสดงให้เห็นกลไกการทำงานของจอพับได้ที่น่าสนใจ
ภาพข้างต้นได้แสดงให้เห็นว่า อุปกรณ์ดังกล่าวเป็น 2 ส่วนที่มีบานพับเชื่อมต่อกัน โดยเป็นหน้าจอพับเข้าหากัน ซึ่งดูแล้วเป็นการดีไซน์ที่มีความทะเยอทะยาน และแตกต่างจากเทคโนโลยีแผงหน้าจอพับได้ที่ได้รับการพัฒนาอยู่ในปัจจุบัน

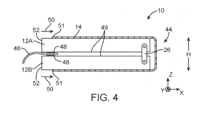
ในภาพที่ 4 ได้แสดงให้เห็นการดีไซน์หน้าจอพับได้ที่ด้านนอก ซึ่งดูใกล้เคียงกับเทคโนโลยีในปัจจุบันมากขึ้น และเริ่มมีการผลิตให้เห็นกันบ้างแล้ว
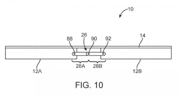
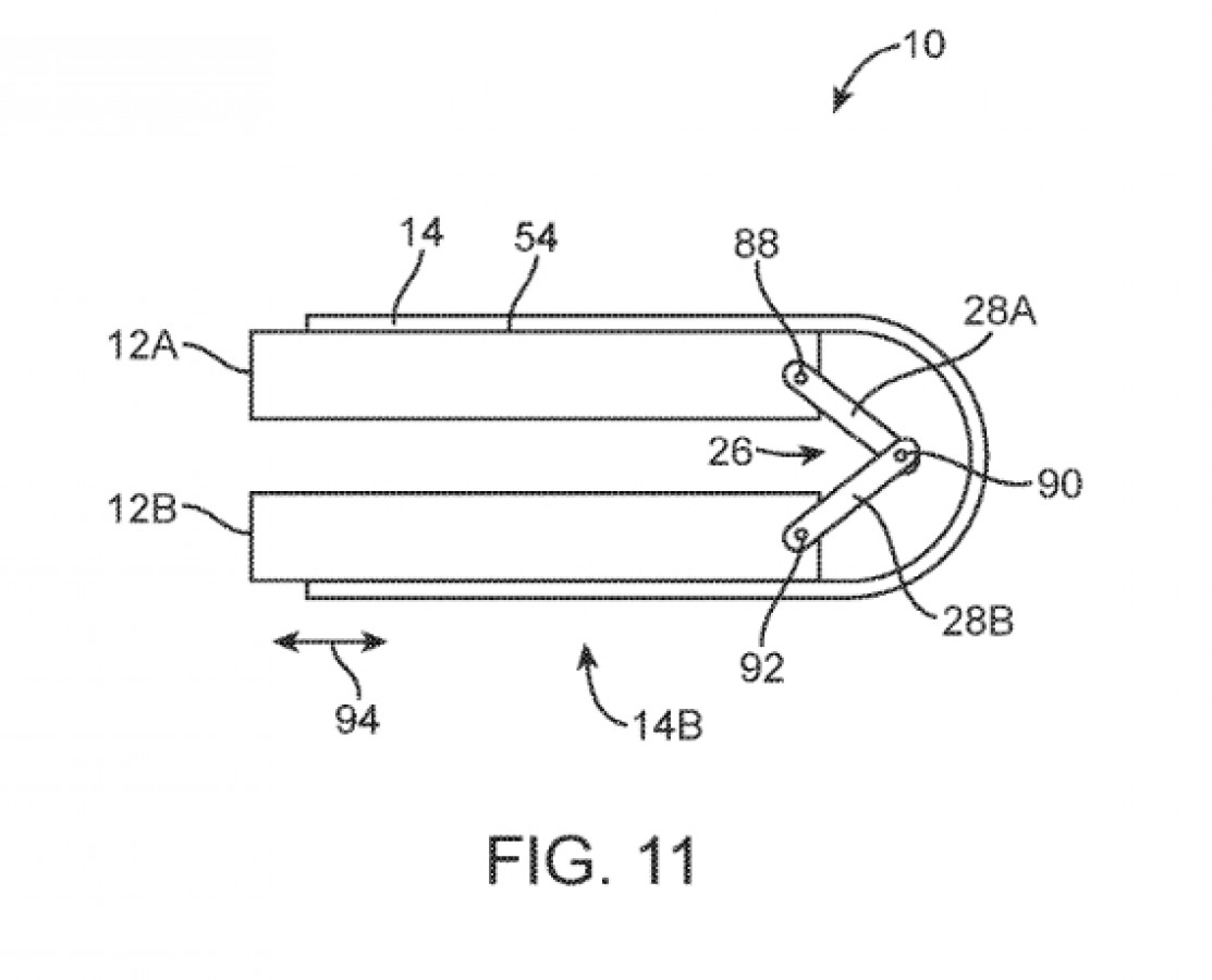
ในภาพที่ 10 – 12 นั้น บานพับได้ถูกออกแบบให้มีกลไกมากขึ้น รองรับการพับหน้าจอได้อย่างน่าสนใจ และมีจุดเชื่อมโยงหลายจุดด้วยกัน
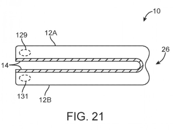
ภาพที่ 20 – 23 ได้แสดงให้เห็นดีไซน์ที่น่าสนใจ และเป็นไปได้ โดยการใช้จุดเชื่อมต่อที่มีความยืนหยุ่นอย่างหลากหลาย และมีความหนาต่างกัน
ยิ่งไปกว่านั้น ยังมีดีไซน์อื่น ๆ ที่แปลกตามากขั้น ยกตัวอย่างเช่น แผงหน้าจอที่แบบม้วนได้ และรวมถึงดีไซน์ที่แบ่งหน้าจอเป็น 3 ส่วนด้วยกัน
ภาพดังกล่าวนี้นี้ เป็นการบอกถึงแผนการพัฒนาสมาร์ทโฟนของ Apple ในอนาคต และอาจนำไปใช้กับอุปกรณ์อื่น ๆ เช่น iPad หรือ MacBook ด้วยเช่นกัน

ข้อมูลอ้างอิง : gsmarena



























