เชื่อเหลือเกินว่าหนึ่งในปัญหาระดับโลกของคนใช้สมาร์ทโฟนที่ไม่ค่อยได้พูดถึงกันคือ การที่หูฟังของเราหลุดออกจากหูบ่อยๆ ระหว่างทำกิจกรรมที่ต้องมีการเคลื่อนไหวมากๆ อย่างเช่น การออกกำลังกายหรือแค่จ๊อกกิ้งเบาๆ ซึ่ง Apple เองก็เล็งเห็นปัญหาตรงนี้และล่าสุดได้จดสิทธิบัตรใหม่เพื่อแก้ปัญหาดังกล่าวแล้ว
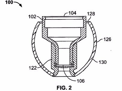
ทั้งนี้ ตัว earbud แบบใหม่ที่จะถูกดีไซน์มาให้สามารถใช้งานได้ชนิดเกาะติดหูของเราโดยตัดความกังวลเดิมๆ ที่มันจะหลุดจากหูทิ้งไป ซึ่ง Apple จดสิทธิบัตรหูฟังที่จะมีดีไซน์การออกแบบใหม่ โดยคอนเซ็ปต์หลักอยู่ที่ตัวหูฟังจะสามารถบิดงอไปตามสภาพของการใช้งานที่สามารถปรับให้เข้ากับรูปทรงของหูแต่ละคนได้อย่างยืดหยุ่นและทำให้ตัวหูฟังเกาะติดมากกว่าเดิม ซึ่งดีไซน์เดิมที่ใช้กันมากว่า 4 ปีนั้นไม่สามารถปรับรูปทรงได้ และน่าสนใจว่าเจ้า earbud ทรงใหม่นี้จะปรากฏพร้อมกับไอโฟนรุ่นต่อไปหรือไม่?


ที่มา : gsmdome












