Tags
| foldable phone
02/07/2025
Honor เปิดตัว Magic V5 : บอดี้บางสุดในโลก, แบตเตอรี่ใหญ่ขึ้น, อัปเกรดกล้อง
Honor ได้เปิดตัว Magic V5 ซึ่งเป็นสมาร์ตโฟนพับจอได้ที่มีบอดี้บางที่สุดในตลาดปัจจุบัน และได้รับการอัปเกรดหลายด้าน โดยยังมาพร้อมดีไซน์ใกล้เคียงกับรุ่นก่อนอย่าง Magic V3 (ทางแบรนด์ได้ข้ามชื่อรุ่น V4 ไป) แต่มีรายละเอียดที่แตกต่างออกไป ยกตัวอย่างเช่น กรอบตัวเครื่องมีความแบนเรียบมากขึ้น ซึ่งช่วยให้ถือได้อย่างกระชับมือมากขึ้น Honor Magic V5 นั้น ได้รับการอัปเกรดตัวเครื่องให้มีความบางลง, น้ำหนักเบาลง และป้องกันรอยได้ดียิ่งขึ้น โดยมีความบางของตัวเครื่อง 8.8 มม. เมื่อพับจอเข้าหากัน และ 4.1 - 4.2 มม. เมื่อเปิดหน้าจอออกจากกัน และมีน้ำหนักเพียง 217 - 222 กรัม ซึ่งขึ้นอยู่กับสีของตัวเครื่อง ดังนี้ แม้บอดี้จะบางมาก แต่มาพร้อมมาตรฐานกันน้ำและฝุ่นระดับสูง ดังนี้ ในขณะที่ Honor Magic V3 นั้น มาพร้อมมาตรฐานกันน้ำ IPX8 เท่านั้น Honor Magic V5 ยังได้รับการอัปเกรดขนาดความจุของแบตเตอรี่ให้สูงขึ้น…ปรีดี ฤกษ์วลีกุล | 212 days ago
Read More07/06/2020
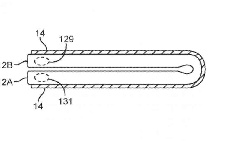
Xiaomi จดสิทธิบัตร “สมาร์ตโฟนพับจอได้” ดีไซน์คล้ายกับ Huawei Mate X
เมื่อวันที่ 5 พฤษภาคม 2020 ที่ผ่านมา เว็บไซต์ LetsGoDigital ได้เปิดเผยภาพสิทธิบัตรการออกแบบสมาร์ตโฟนใหม่ของ Xiaomi ซึ่งได้รับการยื่นเมื่อปลายปี 2019 ต่อทาง CNIPA (National Intellectual Property Administration: สำนักงานทรัพย์สินทางปัญญาแห่งชาติของสาธารณรัฐประชาชนจีน) ภาพดังกล่าวได้แสดงให้เห็นการออกแบบ "สมาร์ตโฟนพับจอได้" ที่มีลักษณะคล้ายกับ Huawei Mate X โดยมีหน้าจอที่สามารถเปิดออกมาให้มีขนาดเท่ากับแท็บเล็ตได้ (อาจใช้กลไกบานพับแบบ Falcon Wing ที่ใช้กับ Mate X ด้วย) และมีแถบด้านข้างสำหรับให้ผู้ใช้จับได้อย่างถนัดมือ พร้อมทั้งติดตั้งกล้อง 4 ตัว ก่อนหน้านี้ไม่นาน Huawei ได้เปิดตัวสมาร์ตโฟนพับจอได้รุ่นอัปเดต นั่นคือ Mate Xs ไปด้วยราคา 2,700 เหรียญ (ประมาณ 85,000 บาท) แต่ไม่รองรับบริการ Google Mobile Services โดยวางจำหน่ายเฉพาะในบางประเทศ และมีคู่แข่งสำคัญของ Samsung…ปรีดี ฤกษ์วลีกุล | 2064 days ago
Read More03/05/2020
สิทธิบัตรล่าสุดเผย : สมาร์ตโฟนพับจอ Galaxy Z Flip รุ่นต่อไป อาจปรับปรุงให้มีกล้องหลัง 3 ตัว
แม้ว่า Samsung เพิ่งจะเปิดตัว Galaxy Z Flip ซึ่งเป็นสมาร์ตโฟนพับจอได้รุ่นที่ 2 ถัดจาก Galaxy Fold ไปเดือนกุมภาพันธ์ 2020 ที่ผ่านมา แต่ทาง Samsung ก็ยังคงเดินหน้าพัฒนา Galaxy Z Flip รุ่นใหม่ต่อไป ล่าสุด เว็บไซต์ LetsGoDigital ได้เปิดเผยภาพดีไซน์จำนวน 2 แบบ จาก WIPO (World Intellectual Property Office: องค์การทรัพย์สินทางปัญญาโลก) หลุดออกมา โดยทำให้ทราบว่าจะ Galaxy Z Flip รุ่นใหม่ จะมีกล้องหลัง 3 ตัว ภาพสิทธิบัตรสมาร์ตโฟนดังกล่าวมีดีไซน์ตัวเครื่องคล้ายรุ่นแรก แต่มีจุดที่ต่างกันดังนี้ Model A : กล้องหลัง 3 ตัว แนวนอน, จอ mini OLED…ปรีดี ฤกษ์วลีกุล | 2098 days ago
Read More23/03/2020
TCL โชว์คอนเซ็ปต์มือถือจอพับได้ของค่าย “Tri-Fold Phone” มือถือพับสามทบ และ “Rollable Phone” มือถือจอม้วนได้
ช่วงปลายปี 2019 และต้นปี 2020 มีสมาร์ตโฟนจอพับได้ออกมาเยอะมาก หลาย ๆ ค่ายเริ่มนำ product ที่เป็นเทคโนโลยีจอพับได้ออกมาโชว์กันเยอะพอสมควร ทั้ง Samsung, Huawei และ Motorola โดยยังมีอีกหนึ่งค่ายที่น่าสนใจคือ TCL ที่ก่อนหน้านี้เคยนำคอนเซ็ปต์เครื่อง dummy ของ "Tri-Fold Phone" หรือสมาร์ตโฟนแบบจอพับได้สามทบภายในงาน CES ปีที่แล้ว ซึ่งตอนนี้เครื่อง retail ที่ใช้งานได้จริง ได้ถูกนำออกมาโชว์แล้ว พร้อมกับคอนเซ็ปต์อีกตัวคือ "Rollable Phone" หรือสมาร์ตโฟนจอม้วนได้ ที่จะเปลี่ยนจากสมาร์ตโฟนจอ 6.56 นิ้ว เป็นแท็บเล็ตจอ 10 นิ้ว ได้ ด้วยการดึงข้างจอ! Tri-Fold Phone คอนเซ็ปต์สมาร์ตโฟนสุดเจ๋งที่จะทำให้คุณสามารถพกจอไซส์แท็บเล็ตได้ไว้ในกระเป๋า โดยตัวเครื่องแบ่งเป็นสามส่วน แต่ละส่วนมีข้อพับที่สามารถทำให้ตัวเครื่องพับได้ Rollable Phone คอนเซ็ปต์สมาร์ตโฟนที่รูปร่างหน้าตาดูธรรมดา แต่สามารถดึงจอข้าง ๆ ออกมากลายเป็นแท็บเล็ตขนาด 10 นิ้วได้ (โดยตัวเครื่องยังเป็นเพียงแค่คอนเซ็ปต์…ชาคริต ทองสัมฤทธิ์ | 2140 days ago
Read More20/01/2020
พบโปสเตอร์โปรโมต Samsung Galaxy Z สมาร์ตโฟนพับหน้าจอได้สองทบ!
ลืม Galaxy Fold และ Galaxy Z Flip ไปได้เลย ล่าสุดมีการพบภาพโปสเตอร์โปรโมตสมาร์ตโฟนรุ่นใหม่ที่มีชื่อว่า Galaxy Z ซึ่งสามารถพับหน้าจอได้ถึงสองทบ! สื่อต่างประเทศเผยว่าสมาร์ตโฟน Samsung Galaxy Z นั้นมีบานพับสองชิ้น สามารถพับได้สองทบ หรือเป็นรูปตัว Z ตามชื่อนั่นเองค่ะ อย่างไรก็ตาม ยังไม่มีข้อมูลของสมาร์ตโฟน Galaxy Z ที่สามารถพับได้ถึง 2 ทบนอกจากภาพที่หลุดออกมาเท่านั้น ในส่วนของ Samsung Galaxy Z Flip หรือสมาร์ตโฟนพับหน้าจอได้ ทรงเดียวกับ Motorola Razr นั้นมีรายงานว่าจะเปิดตัวในวันที่ 11 กุมภาพันธ์ที่จะถึงนี้พร้อมกับสมาร์ตโฟนกลุ่มเรือธง Galaxy S20 ซีรีส์ด้วยค่ะ อ้างอิง GSMArena พิสูจน์อักษร : สุชยา เกษจำรัสNatnaree TK | 2202 days ago
Read More15/11/2019
กระแสกำลังมา : Xiaomi จดสิทธิบัตรสมาร์ตโฟนพับจอได้ “ดีไซน์ฝาพับ”
ได้มีการเปิดเผยภาพสิทธิบัตรจาก CNIPA (China National Intellectual Property Administration: องค์การบริหารทรัพย์สินทางปัญญาแห่งชาติของประเทศจีน) ซึ่งแสดงให้เห็นว่า Xiaomi มีแผนจะพัฒนาสมาร์ตโฟนจอพับได้ "ดีไซน์ฝาพับ" ภาพสิทธิบัตรดังกล่าวของ Xiaomi นั้น มีดีไซน์ที่ต่างจาก Motorola Razr ที่เพิ่งเปิดตัวไปเมื่อวันที่ 13 พฤศจิกายน 2019 ที่ผ่านมา โดยตัวเครื่องนั้นเป็นทรงสี่เหลี่ยมผืนผ้า และพับปิดลงมาเป็นทรงสี่เหลี่ยมจตุรัส โดยมีขอบด้านบนหน้าจอสำหรับติดตั้งกล้องหน้า และมีกล้องหลังคู่ นอกจากนี้ Xiaomi ก็กำลังพัฒนาสมาร์ตโฟนที่พับได้เป็น 3 ส่วน แต่ยังไม่มีการเปิดเผยรายละเอียดของสมาร์ตโฟนดังกล่าวแต่อย่างใด สมาร์ตโฟนพับจอได้ กำลังกลายเป็นแนวทางการพัฒนาสมาร์ตโฟนที่ผู้ผลิตรายใหญ่กำลังให้ความสนใจ ไมว่าจะเป็น Samsung Galaxy Fold, Huawei Mate X และ Motorola Razr ที่เพิ่งเปิดตัวไปไม่นาน ทั้งนี้ได้มีการคาดการณ์ว่า ตลาดสมาร์ตโฟนพับจอได้จะขยายตัวมากขึ้นในปี 2020 นี้ ข้อมูลอ้างอิง : gsmarena พิสูจน์อักษร…ปรีดี ฤกษ์วลีกุล | 2268 days ago
Read More26/10/2019
นี่คือสมาร์ตโฟนพับหน้าจอได้ที่ทำเอา Galaxy Fold ดูธรรมดาไปเลย!
ดูเหมือนว่าปี 2020 นี้จะเป็นปีแห่งสมาร์ตโฟนพับหน้าจอได้มากขึ้น จากผู้นำอย่าง Samsung Galaxy Fold และ Huawei Mate X (ยังไม่วางจำหน่าย) ตามมาด้วย Surface Duo จาก Microsoft ต่างใช้ดีไซน์แบบพับหน้าจอได้ทั้งหมด ยกเว้น Surface Duo ที่ถึงจะพับได้ก็จริง แต่เป็นการแบ่งการแสดงผลหน้าจอออกเป็น 2ฝั่งแทน Galaxy Fold, Huawei Mate X และ Surface Duo ทั้งหมดนี้ใช้ดีไซน์แบบพับหน้าจอได้ทบเดียว แต่ล่าสุดผู้ผลิตสมาร์ตโฟนแบรนด์ TCL โชว์เครื่องต้นแบบสมาร์ตโฟนพับหน้าจอที่สามารถพับได้ถึง 2 ทบกันเลยทีเดียว สำหรับเครื่องต้นแบบสมาร์ตโฟนพับหน้าจอได้ของ TCL นั้นยังไม่มีชื่ออย่างเป็นทางการ จุดเด่นอยู่ที่หน้าจอขนาด 10 นิ้ว สามารถพับได้ถึง 2ทบ ซึ่งสมาร์ตโฟนพับได้ที่กล่าวมาข้างต้นสามารถพับได้เพียงทบเดียว (พับปิด) ตัวเครื่องมีกล้องหลัง 4 ตัว กล้องหน้า 1 ตัว ไม่มีช่องเสียบหูฟัง…วัชรกุล พัฒนาประทีป | 2289 days ago
Read More24/06/2019
อุปกรณ์ Microsoft Surface จอพับได้ 9 นิ้ว อาจเปิดตัวปี 2020 พร้อมรองรับแอป Android
เมื่อปี 2018 ที่ผ่านมา Microsoft ได้พัฒนา Surface Phone ที่เรียกว่าโปรเจ็คต์ Andromeda ที่คาดว่าจะเป็นอุปกรณ์ที่มีหน้าจอพับได้ ล่าสุด Forbes รายงานว่า อุปกรณ์ Surface จอพับได้ขนาดเล็ก มีกำหนดการเปิดตัวในช่วงครึ่งแรกของปี 2020 โดยมีความเป็นไปได้ว่าอาจเป็นไตรมาสแรก Jeff Lin ผู้ดำรงตำแหน่ง IHS Markit Associate Director ได้กล่าวว่า อุปกรณ์ Surface จอพับได้ เมื่อเปิดหน้าจอออกจะมีขนาด 9 นิ้ว โดยจะใช้ชิปเซ็ต Ladefield ระดับ 10 นาโนเมตร และจะรันระบบปฏิบัติการ Windows 10 ที่เรียกว่า WCOS (Windows Core OS) พร้อมยูสเซอร์อินเทอร์เฟสแบบ 2 หน้าจอ นอกจากนี้ อุปกรณ์ดังกล่าวจะรองรับการเชื่อมต่อ LTE หรือ 5G และที่สำคัญคือจะรองรับแอป Android…ปรีดี ฤกษ์วลีกุล | 2413 days ago
Read More12/04/2019
Sharp เผยตัวอย่างสมาร์ตโฟน “จอพับแนวตั้ง” ขนาด 6.2 นิ้ว
เมื่อเดือนมีนาคม 2019 ที่ผ่านมา มีรายงานว่า Sharp กำลังพัฒนาสมาร์ตโฟนจอพับได้แนวตั้ง และล่าสุด Sharp ได้เปิดเผยตัวอย่างสมาร์ตโฟนดังกล่าวที่ค่อนข้างน่าสนใจทีเดียว https://youtu.be/EH0fw1XvcVQ สมาร์ตโฟนดังกล่าวมีจอ AMOLED ขนาด 6.18 นิ้ว ความละเอียด 1440 x 3040 พร้อมส่วนเว้าขนาดใหญ่ด้านบนหน้าจอ โดยทาง Sharp อ้างว่าสามารถรองรับการพับได้ถึง 300,000 ครั้ง ทาง Sharp หวังว่าจะวางจำหน่ายสมาร์ตโฟนดังกล่าวในอีก 1-2 ปีนี้ ซึ่งดูเหมือนว่า Sharp อาจจะรอดูสมาร์ตโฟนพับได้จากแบรนด์อื่นเสียก่อน นอกเหนือจาก Samsung และ Huawei ที่เปิดตัวสมาร์ตโฟนจอพับได้ไปแล้วนั้น ก็ยังมี Motorola ที่กำลังพัฒนาสมาร์ตจอพับได้ดีไซน์ฝาพับ RAZR 2019 และกำลังจะเปิดตัวในปี 2019 นี้ ในราคาที่สูงถึง 1,500 เหรียญ (ประมาณ 48,000 บาท) ข้อมูลอ้างอิง : gsmarenaปรีดี ฤกษ์วลีกุล | 2486 days ago
Read More03/04/2019
Lenovo จดสิทธิบัตรสมาร์ตโฟนจอพับได้ “แนวตั้ง”
ได้มีการเปิดเผยภาพสิทธิบัตรที่ Lenovo จดเมื่อเดือนกันยายน 2018 ต่อทาง WIPO (World Intellectual Property Office: องค์การทรัพย์สินทางปัญญ่าโลก) ภาพดังกล่าวแสดงให้เห็นสมาร์ตโฟนที่พับหน้าจอในแบบแนวตั้ง ซึ่งคล้ายกับดีไซน์ของสมาร์ตโฟนฝาพับที่ปรับเปลี่ยนมาเป็นจอพับได้อย่าง Motorola RAZR 2019 ซึ่งมีข่าวลือจะเปิดตัวในปีนี้ จากภาพข้างต้น แสดงให้ห็นบานพับขนาดใหญ่ที่ช่วยให้ตัวเครื่องพับปิดลงได้ โดยสามารถพับได้ 2 ระดับ คือ ครึ่งหน้าจอ และเกือบเต็มหน้าจอ ซึ่งคาดว่าจะนำมามใช้ประโยชน์ต่างกัน ดังภาพเรนเดอร์ด้านล่างนี้ อย่างไรก็ดี นี่เป็นเพียงภาพเรนเดอร์ที่อ้างอิงจากรายละเอียดสิทธิบัตรเท่านั้น ต้องรอดูว่าตัวเครื่องจริงของ Lenovo จะมีดีไซน์สวยงามมากเพียงไร ข้อมูลอ้างอิง : gsmarenaปรีดี ฤกษ์วลีกุล | 2495 days ago
Read More25/02/2019
Oppo เผยสมาร์ทโฟนพับได้ของตัวเองออกมาเช่นเดียวกัน!
นอกจาก Samsung และ Huawei ที่เปิดตัวสมาร์ทโฟนพับหน้าจอได้ไปก่อนหน้านี้แล้ว Oppo ก็เป็นอีกหนึ่งแบรนด์ที่เปิดตัวสมาร์ทโฟนพับหน้าจอได้ออกมาเช่นเดียวกัน แต่หน้าตานั้นค่อนข้างจะคล้ายกับ Huawei Mate X พอสมควรเลยครับ ประธานของ Oppo, Brian Shen ได้เผยแพร่รูปภาพสมาร์ทโฟนพับหน้าจอได้ของบริษัทบนโซเชียลยอดฮิตของจีนอย่าง Weibo ถึงอย่างนั้นบริษัทยังไม่มีการเปิดตัวเครื่องต้นแบบอย่างเป็นทางการ (คาดว่าน่าจะรอดูกระแสตอบรับก่อน) แต่ตัวหน้าตาของเครื่องนั้นคล้ายไปทาง Huawei Mate X มากกว่า Galaxy Fold ครับ ตัวเครื่องใช้วิธีการกางออก ที่ขอบด้านหนึ่งมีความหนาขึ้นมาเล็กน้อย เป็นตำแหน่งของกล้อง ในส่วนของรายละเอียดด้านสเปกต่างๆ ยังไม่มีการประกาศออกมาอย่างชัดเจนครับ ตอนนี้ก็ได้แต่รอดูว่า Oppo จะทำเครื่องจริงออกมาวางจำหน่ายหรือไม่ อ้างอิงวัชรกุล พัฒนาประทีป | 2531 days ago
Read More24/02/2019
Huawei เปิดตัว Mate X สมาร์ทโฟนพับหน้าจอได้ แสดงผลเต็มจอกว่า ชาร์จไวมาก รองรับ 5G!
ก่อนหน้านี้ Samsung เปิดตัว Galaxy Fold สมาร์ทโฟนพับหน้าจอได้ ซึ่งคาดว่า Huawei เองก็อาจจะเปิดตัวสมาร์ทโฟนพับหน้าจอได้เช่นเดียวกัน ซึ่งล่าสุด Huawei ก็ได้เปิดตัวสมาร์ทโฟนหน้าจอพับได้อย่างเป็นทางการแล้วในชื่อว่า Huawei Mate X ครับ จุดเด่นของ Mate X แน่นอนว่าคือหน้าจอที่พับได้ ขนาดใหญ่ถึง 8 นิ้ว ความละเอียดหน้าจออยู่ที่ 2480 x 2200 พิกเซล เมื่อพับหน้าจอมาแล้วหน้าจอจะเหลือ 6.6 นิ้ว ความละเอียด 2480 x 1148 พิกเซล ใช้ชิปประมวลผล Kirin 980 แรม 8GB ความจุภายในเครื่อง 512GB และยังรองรับ 5G โดย Huawei ออกแบบโมเด็มเองในชื่อว่า Baolong 5000 กล้องของ Mate X มีทั้งหมดสามตัวอยู่ด้านเดียว ใช้เป็นทั้งกล้องหลังและกล้องหน้าสำหรับเซลฟี่ แน่นอนว่าพัฒนาร่วมกันกับ Leica ซึ่ง…วัชรกุล พัฒนาประทีป | 2532 days ago
Read More17/02/2019
ส่องสิทธิบัตรดีไซน์อุปกรณ์ “จอพับได้ ” ต่าง ๆ ของ Apple
เทคโนโลยีจอพับได้กำลังได้รับความนิยมเป็นอย่างมาก และคาดว่าจะกลายเป็นไฮไลท์ประจำปี 2019 เลยทีเดียว บริษัทเทคโนโลยีมากมายต่างเริ่มพัฒนาดีไซน์อุปกรณ์ที่มาพร้อมจอพับได้กันตั้งแต่ปี 2017 โดยคาดว่าอาจมีการเปิตดัวสมาร์ทโฟนจอพับได้ภายในงาน Mobile World Congress (MWC) ประจำปี 2019 นี้ด้วย ไม่ว่าจะเป็น LG, Samsung, Hawei และ Xiaomi แต่สำหรับ Apple นั้น ดูเหมือนจะยังคงพัฒนาเทคโนโลยีดังกล่าวนี้ต่อไป และเตรียมแผนจะเปิดตัวอุปกรณ์จอพับได้ในปี 2020 ล่าสุดได้มีการเปิดเผยเอกสารสิทธิบัตรที่ยื่นจดตั้งแต่เมื่อปี 2011 และอัปเดตเมื่อปี 2016 โดยแสดงให้เห็นกลไกการทำงานของจอพับได้ที่น่าสนใจ ภาพข้างต้นได้แสดงให้เห็นว่า อุปกรณ์ดังกล่าวเป็น 2 ส่วนที่มีบานพับเชื่อมต่อกัน โดยเป็นหน้าจอพับเข้าหากัน ซึ่งดูแล้วเป็นการดีไซน์ที่มีความทะเยอทะยาน และแตกต่างจากเทคโนโลยีแผงหน้าจอพับได้ที่ได้รับการพัฒนาอยู่ในปัจจุบัน ในภาพที่ 4 ได้แสดงให้เห็นการดีไซน์หน้าจอพับได้ที่ด้านนอก ซึ่งดูใกล้เคียงกับเทคโนโลยีในปัจจุบันมากขึ้น และเริ่มมีการผลิตให้เห็นกันบ้างแล้ว ในภาพที่ 10 - 12 นั้น บานพับได้ถูกออกแบบให้มีกลไกมากขึ้น รองรับการพับหน้าจอได้อย่างน่าสนใจ และมีจุดเชื่อมโยงหลายจุดด้วยกัน ภาพที่ 20 - 23…ปรีดี ฤกษ์วลีกุล | 2540 days ago
Read More06/01/2019
กระแสอุปกรณ์จอพับได้เริ่มจริงจัง : BOE โชว์ตัวอย่างจอพับได้อย่างน่าประทับใจ
แผงหน้าจอและอุปกรณ์ที่มีจอซึ่งพับเข้าหากันได้นั้นเริ่มปรากฏให้เห็นเด่นชัดและได้รับความสนใจในวงกว้างมากขึ้น โดยมีการคาดหวังว่าจะมีอุปกรณ์ในลักษณะดังกล่าวได้รับการเปิดตัวอย่างเป็นทางการในปี 2019 นี้ ล่าสุด BOE ได้นำเทคโนโลยีหน้าจอแบบพับรุ่นต้นแบบได้มาจัดแสดง โดยมีสเปคดังนี้ แผงหน้าจอ AMOLED ขนาด 7.65 นิ้ว ความละเอียด WQHD (2048 x 1536 พิกเซล) ความสว่าง 380 นิต ขอบเขตของสีแบบ NTSC สูงถึง 118% การตอบสนองหน้จอ 1 ms https://youtu.be/qHh0Q0F9__k จริง ๆ แล้ว สเปคหน้าจอพับได้ของ BOE นั้นอาจไม่ใช่สิ่งใหม่แต่อย่าง แต่สิ่งที่น่าสนใจคือ รัศมีโค้งในส่วนของหน้าจอที่พับนั้นมีเพียง 1 มิลลิเมตรเท่านั้น อีกสิ่งที่ BOE ได้นำเสนอความทนทาน ซึ่งหน้าจอสามารถพับได้ถึง 100,000 ครั้ง อย่างไรก็ดี หน้าจอดังกล่าวยังอยู่ในขั้นตอนการพัฒนาเท่านั้น ซึ่งยังคงต้องได้รับการปรับปรุงข้อบกพร่องต่าง ๆ ที่ปรากฏให้เห็นต่อไป สำหรับในปี 2019 ได้รับการคาดหมายว่าจะมีสมาร์ทโฟนหน้าจอพับได้หลายแบรนด์ได้รับการเปิดตัวอย่างเป็นทางการ เช่น…ปรีดี ฤกษ์วลีกุล | 2582 days ago
Read More04/01/2019
คลิปหลุดสมาร์ทโฟนแบบพับได้จาก Xiaomi บอกได้ค้ำเดียวว่าล้ำมาก!
สื่อต่างประเทศรายงานว่ามีคลิปหลุดสมาร์ทโฟนพับได้ที่คาดว่าจะเป็นของ Xiaomi เผยแพร่โดย Evan Blass ซึ่งในคลิปนั้นมีการกางตัวเครื่องเท่ากับขนาดของแท็บเล็ต และพับเข้ามาให้มีขนาดเท่ากับสมาร์ทโฟนปกติเลยครับ ในทวีตของ Evan Blass ระบุว่า ถึงแม้จะไม่สามรถยืนยันได้อย่างแน่ชัด แต่คาดว่าอุปกรณ์ดังกล่าวจะเป็นของ Xiaomi ในคลิปตัวเครื่องถูกเปิดใช้งาน Google Maps ขนาดแท็บเล็ต แต่หลังจากพับตัวเครื่อง หน้าตาของแอปพลิเคชั่นก็ถูกปรับขนาดเป็นขนาดสมาร์ทโฟนปกติได้อีกด้วย https://twitter.com/evleaks/status/1080870489990590464?ref_src=twsrc%5Etfw%7Ctwcamp%5Etweetembed%7Ctwterm%5E1080870489990590464&ref_url=https%3A%2F%2Fwww.theverge.com%2Fcircuitbreaker%2F2019%2F1%2F4%2F18168040%2Fxiaomi-trifold-tablet-2019-evan-blass มีรายงานว่า Xiaomi พัฒนาสมาร์ทโฟนแบบพับหน้าจอได้ตั้งแต่ปี 2016 ที่ผ่านมารวม 3 ปีแล้ว ก็ถือว่าเป็นอีกหนึ่งแบรนด์ที่ดูเหมือนจะกลายเป็นม้ามืดนอกจาก Samsung และ Huawei ที่ประกาศทำสมาร์ทโฟนหน้าจอพับได้ไปก่อนหน้านี้ ทั้งนี้สมาร์ทโฟนแบบพับได้ก็จะมีจุดเด่นหรือไอเดียของแต่ละแบรนด์ที่แตกต่างกัน อย่างของ Samsung ก็จะมีหน้าจอสองอัน เมื่อพับแล้วหน้าจออันใหญ่จะซ้อนกับตัวหน้าจอเล็กอีกที แต่การที่มีคลิปนี้หลุดออกมาทำให้เราเห็นไอเดียของสมาร์ทโฟนหน้าจอพับได้ ได้ชัดเจนขึ้นอีกเยอะเลยครับ อ้างอิงวัชรกุล พัฒนาประทีป | 2583 days ago
Read More15/12/2018
เผยสเปกและต้นทุน Galaxy F สมาร์ทโฟนพับจอได้ของ Samsung ที่โหดเอาเรื่อง!
รายงานจากสื่อของเกาหลี CGS-CIMB Group เผยว่า สมาร์ทโฟนหน้าจอพับได้จะเป็นเทรนด์ใหม่ของสมาร์ทโฟนในยุคต่อไปและช่วยให้ตลาดสมาร์ทโฟนกลับมาคึกคักขึ้นได้อีกครั้งหนึ่ง CIMB ระบุว่า สมาร์ทโฟนหน้าจอพับได้จะมียอดขาย 4 ล้านเครื่องในปีหน้า และอาจทำยอดขายรวมได้ทั้งสิ้น 39 ล้านเครื่องใน 2022 ทำให้ส่วนแบ่งตลาดสมาร์ทโฟนพับได้เพิ่มขึ้นจาก 1.3% เป็น 9.2% เลยทีเดียว CIMB คาดว่า Galaxy F จะเป็นสมาร์ทโฟนพับได้เครื่องแรกของโลกจากผู้ผลิตสมาร์ทโฟนรายใหญ่ และจะมีราคาวางจำหน่ายอยู่ที่ $1,800 หรือประมาณ 59,000 บาท ด้วยการตั้งราคานี้จะทำให้ Samsung ได้รับกำไรถึง 65% เหมือนกับ iPhone XS Max ของ Apple ครับ แต่ในปี 2022 ราคาเฉลี่ยของสมาร์ทโฟนพบหน้าจอได้จะลดลงมาเหลือ $1,300 หรือประมาณ 43,000 บาท ด้านสเปก Galaxy F จะมีแบตเตอรี่ทั้งสองหน้าจอรวมกันประมาณ 5,000 - 6,000 mAh กล้องคู่…วัชรกุล พัฒนาประทีป | 2604 days ago
Read MorePR Partners
See All29/01/2026
ภูษิต เรืองอุดมกิจ | 1 days ago
ไฮเออร์ (Haier) พลิกโฉมเซ็นทรัลเวิลด์ ส่ง “เครื่องซักผ้า 3 ถัง” ระดับ Champion ลงสนามปี 69
เมื่อยักษ์ใหญ่เบอร์ 1 ของโลกอย่าง ไฮเออร์ (Haier) ที่ครองแชมป์เครื่องใช้ไฟฟ้าต่อเนื่อง 17 ปีซ้อน ไม่ได้มาเล่น ๆ แต่กำลังจะเปลี่ยน "งานบ้าน" ให้เป็น "ไลฟ์สไตล์ระดับแชมป์" ทางไฮเออร์ตั้งเป้าสู่การเป็น Global Lifestyle Brand อย่างเต็มรูปแบบในปีนี้ เริ่มต้นปีด้วยการเล่นใหญ่ผ่านแฟลกชิปอีเวนต์ ‘Champion Your Haier Life ไฮเออร์ เปิดโหมดแชมป์ให้กับชีวิต’ ป็อปอัพสโตร์ระดับโลกมาแลนดิ้งใจกลางกรุงเทพฯ ณ ลานด้านหน้า CentralwOlrd29/01/2026
อว. จับมือ NetDragon – EDA ปั้น “สะพานอัจฉริยะ” พลิกโฉมเด็กไทยสู่ยอดฝีมือ AI แห่งยุคดิจิทัล
ทิศทางของ 'เด็กไทย' ผู้เป็นอนาคตของชาติในยุค AI จะเป็นแบบไหน ผู้ใหญ่ในประเทศก็มีส่วนสำคัญที่จะสนับสนุนและปูทางให้กับพวกเขา ล่าสุด กระทรวงการอุดมศึกษา วิทยาศาสตร์ วิจัยและนวัตกรรม หรือ อว. ประกาศยุทธศาสตร์ครั้งสำคัญร่วมกับพันธมิตรระดับโลกอย่าง NetDragon และ บริษัท EDA (Thailand) ในการขับเคลื่อนประเทศไทยผ่านนวัตกรรม AI ภายใต้แนวคิดการสร้างระบบนิเวศ Learning-to-Career เพื่อผลักดันให้นักศึกษาไทยก้าวข้ามขีดจำกัดด้านการเรียนรู้ สู่การเป็นบุคลากรคุณภาพที่ตลาดแรงงานทั่วโลกต้องการในยุค AI ไม่ว่าจะเป็น ภายในงาน ดร. พิมพ์พร ชีวานันท์ เลขานุการ รมว.อว. ได้ชี้ให้เห็นว่าภายใน 5 ปีข้างหน้า ทักษะการทำงานจะเปลี่ยนไปอย่างมหาศาล กระทรวงฯ จึงเร่งเดินหน้าแผน Re-skill และ Up-skill เพื่อลดช่องว่างทางทักษะและยกระดับความสามารถในการแข่งขันของคนไทย ด้าน ดร. พันธุ์เพิ่มศักดิ์ อารุณี รองปลัดกระทรวง อว. ระบุว่าปัจจุบันได้นำร่องหลักสูตร AI ในมหาวิทยาลัยแล้ว 6 แห่ง และเตรียมขยายผลไปยังสถาบันกว่า 250…ภูษิต เรืองอุดมกิจ | 2 days ago
Read More17/01/2026
มุมมองผู้นำยุคใหม่ของ “ศุภชัย เจียรวนนท์” เมื่อการเติบโตของธุรกิจ ต้องตอบโจทย์ระดับประเทศ
ในบริบทที่เศรษฐกิจโลกผันผวน เทคโนโลยีเปลี่ยนแปลงอย่างรวดเร็ว และการแข่งขันขยายสู่ระดับโลก บทบาทของผู้นำองค์กรในวันนี้จึงไม่ได้จำกัดอยู่เพียงการขับเคลื่อนการเติบโตของธุรกิจ หากแต่เชื่อมโยงกับการมีส่วนร่วมในการเสริมสร้างศักยภาพการพัฒนาประเทศในระยะยาว หนึ่งในบุคคลที่ถูกจับตามองในฐานะผู้นำภาคเอกชนที่เข้ามามีบทบาทต่อโจทย์ระดับประเทศ คือ ศุภชัย เจียรวนนท์ ประธานคณะผู้บริหารเครือเจริญโภคภัณฑ์ ผู้ซึ่งมองบทบาทขององค์กรธุรกิจไกลกว่าการสร้างผลประกอบการ แต่คือการเป็นอีกหนึ่งแรงสำคัญในการวางรากฐานเชิงโครงสร้างให้กับประเทศในระยะยาว จากโจทย์ยากของประเทศ สู่การลงมือทำของภาคเอกชน แนวคิดสำคัญที่สะท้อนผ่านการขับเคลื่อนของคุณศุภชัย คือ หากประเทศไทยต้องการเติบโตในเศรษฐกิจยุคใหม่ โครงสร้างพื้นฐานด้านดิจิทัลต้องแข็งแรงก่อนเป็นอันดับแรก ภายใต้วิสัยทัศน์นี้ กลุ่มทรู ซึ่งอยู่ภายใต้เครือซีพี จึงไม่ได้จำกัดบทบาทไว้เพียงผู้ให้บริการเครือข่าย แต่ขยายสู่การวาง Telecom Infrastructure แบบครบวงจร ตั้งแต่การปูพรม 5G ไปจนถึงการยกระดับ True IDC สู่ Data Center ระดับสากล โครงสร้างเหล่านี้ถูกวางให้เป็นฐานรองรับ Big Data, Cloud และ AI ซึ่งเป็นปัจจัยสำคัญต่อการดึงดูดการลงทุนจากบริษัทเทคโนโลยีระดับโลก และการขับเคลื่อนเศรษฐกิจดิจิทัลของประเทศ เทคโนโลยีในมุมของคุณศุภชัย ต้อง “สร้างโอกาส” ไม่ใช่แค่สร้างมูลค่า อีกหนึ่งมิติที่สะท้อนวิธีคิดของคุณศุภชัย คือการนำเทคโนโลยีมาใช้เพื่อลดความเหลื่อมล้ำเชิงโครงสร้าง ความสำเร็จของ TrueMoney ซึ่งเป็น Wallet รายแรกของไทย และ…ภูษิต เรืองอุดมกิจ | 14 days ago
Read More15/01/2026
ศุภชัย เจียรวนนท์ วางรากฐานดิจิทัล-การเงิน-สตาร์ทอัพ ยกระดับคนไทยสู่อนาคตยั่งยืน
ในยุคที่โลกเผชิญความผันผวนจากเทคโนโลยี การเปลี่ยนแปลงทางเศรษฐกิจ และความท้าทายด้านสิ่งแวดล้อม “ภาวะผู้นำ” ถูกนิยามใหม่ว่าไม่ได้วัดเพียงความสำเร็จขององค์กร แต่สะท้อนจากความสามารถในการสร้างการเปลี่ยนแปลงเชิงระบบที่ส่งผลต่อประเทศและผู้คนในวงกว้าง นายศุภชัย เจียรวนนท์ ประธานคณะผู้บริหาร เครือเจริญโภคภัณฑ์ (ซีพี) ได้รับการยอมรับในฐานะ ผู้นำแห่งการเปลี่ยนแปลง (Transformational Leader) ที่ขับเคลื่อนประเทศไทยสู่อนาคต ผ่านการวางรากฐานเศรษฐกิจดิจิทัล การขยายโอกาสด้านการเงินดิจิทัล การสร้างระบบนิเวศสตาร์ทอัพ ตลอดจนการลงทุนด้านการศึกษาและความยั่งยืนอย่างเป็นรูปธรรม วางรากฐานเศรษฐกิจดิจิทัลไทย ตั้งแต่ยุค 3G หนึ่งในจุดเปลี่ยนสำคัญที่ทำให้ประเทศไทยก้าวสู่ยุคดิจิทัลอย่างเป็นรูปธรรม คือการพัฒนาโครงสร้างพื้นฐานด้านโทรคมนาคม โดยเฉพาะการบุกเบิก เทคโนโลยี 3G ซึ่งมีบทบาทมากกว่าการเพิ่มความเร็วสัญญาณมือถือ แต่เป็นการสร้าง “ฐานเศรษฐกิจใหม่” ที่ทำให้บริการออนไลน์ การเรียนรู้ และการทำธุรกิจดิจิทัลเกิดขึ้นได้จริงในวงกว้าง เชื่อมโยงผู้คนและผู้ประกอบการไทยสู่โอกาสใหม่ในระบบเศรษฐกิจโลก ขยายโอกาสการเงินดิจิทัล ตั้งแต่ Wallet รายแรกของประเทศ สู่ก้าวใหม่ระบบการเงินยุคดิจิทัล ในโลกยุคใหม่ การเข้าถึงบริการทางการเงินกลายเป็นกุญแจสำคัญในการยกระดับคุณภาพชีวิตของประชาชนและเสริมศักยภาพผู้ประกอบการรายย่อย โดยนายศุภชัยมีบทบาทสำคัญในการผลักดัน Wallet รายแรกของประเทศไทย ผ่าน TrueMoney ซึ่งเป็นจุดเริ่มต้นของการเงินดิจิทัลที่ทำให้การเข้าถึงบริการทางการเงินสะดวกและครอบคลุมมากขึ้น พร้อมกันนี้ การมีส่วนร่วมในการขับเคลื่อนระบบการเงินยุคใหม่ผ่าน Virtual Bank ถือเป็นอีกก้าวสำคัญในการยกระดับนวัตกรรม เพิ่มการแข่งขัน และทำให้ระบบการเงินไทยตอบโจทย์อนาคตได้อย่างมีประสิทธิภาพ…อมลวรรณ ศรัทธานนท์ | 15 days ago
Read More































